Allegro MicroSystems A1468 3-Wire Differential Peak-Detecting Sensor IC
Allegro MicroSystems A1468 3-Wire True Zero-Speed Differential Peak-Detecting Sensor Integrated Circuit (IC) with continuous calibration is an optimized Hall-effect sensing IC. The Allegro MicroSystems A1468 provides a user-friendly solution for digital ring-magnet sensing, or when coupled with a magnet, ferromagnetic target sensing, in three-wire applications. The small 4-pin SIP package can be easily assembled into applications for use in conjunction with a wide variety of target shapes and sizes. The IC is ideally suited to obtaining speed and duty cycle information in ring-magnet–based speed, position, and timing applications, such as in speedometers.The A1468 sensor IC features two Hall-effect elements spaced 2.2mm apart, designed to detect differential magnetic signals generated by ring magnet poles. The advanced digital circuitry minimizes system offsets, calibrates gain to ensure consistent switching regardless of air gap variations, and enables true zero-speed detection. Upon power-up, the sensor automatically adjusts offset and gain for optimal signal performance. These calibrations are continuously refined during operation through a running-mode calibration process, which enhances stability and provides resistance to environmental disturbances such as minor target vibrations or sudden changes in air gap.
Features
- Wide 4.0V to 26.5V supply operating range
- Minimum differential field 20Gpk-pk
- Running mode calibration for continuous optimization
- Single-chip IC for high reliability
- Precise duty cycle signal throughout the operating temperature range
- Large operating air gaps
- Automatic Gain Control (AGC) for air-gap–independent switch points
- Automatic Offset Adjustment (AOA) for signal processing optimization
- True zero-speed operation
- Undervoltage lockout
- Reverse battery protection
- Scan and IDDQ for increased test coverage
- Robust 4-pin SIP package
- 100% matte-tin lead frame plating
- Lead-free
Applications
- Automotive speed sensing
- Wheel speed sensors (e.g., ABS systems)
- Transmission speed sensors
- Crankshaft and camshaft position sensors
- Motorcycle speed sensing
- Industrial equipment
- Rotational speed detection in motors and gear systems
- Position sensing for rotating machinery
- Ferromagnetic target sensing, when paired with a magnet
- Consumer and commercial devices
- Digital tachometers
- Fan speed monitoring
- Robotics requiring precise rotational feedback
Specifications
- 38V maximum forward supply voltage
- -18V maximum reverse supply voltage
- 4V to 26.5V supply voltage range
- 3.0mA to 7.5mA supply current range
- 30mA maximum output current
- -50mA maximum reverse output current
- -0.5V maximum reverse output voltage
- 28V maximum output off voltage
- 2.3ms maximum power-on time
- 38V minimum supply zener clamp voltage
- -1mA maximum reverse supply current
- 28V minimum output zener clamp voltage
- 3mA maximum output zener current
- 30mA to 85mA output current limit range
- 400mV maximum output saturation voltage, 220mV typical
- 10µA maximum output leakage current
- 2µs typical output fall time
- 20G to 1200G operating magnetic signal range
- 0kHz to 10kHz operating frequency range
- 20kHz minimum analog signal bandwidth
- ±15% maximum output duty cycle precision
- 0.3% typical output period precision
- ±100G maximum allowable user-induced differential offset
- 177°C/W package thermal resistance
- -40°C to +150°C ambient operating temperature range
- +165°C maximum junction temperature
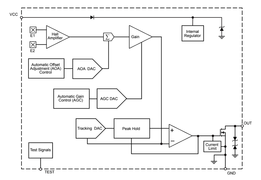
Functional Block Diagram
Application Circuit Diagram
Sensing
Đã phát hành: 2025-08-15
| Đã cập nhật: 2025-08-21
