Analog Devices Inc. AD5674 & AD5674R 12-Bit, 16-Channel nanoDAC+
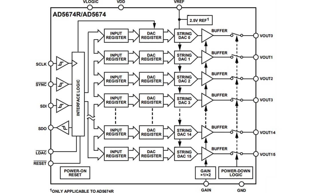
Analog Devices Inc. AD5674 and AD5674R 12-Bit, 16-Channel nanoDAC+ are low-power buffered voltage output digital-to-analog converters. The AD5674R variant includes a 2.5V, 2ppm/°C internal reference enabled by default. The AD5674 requires an external reference. These DACs feature a 50MHz Serial Peripheral Interface (SPI) with readback or daisy chain. These devices operate from a single 2.7V to 5.5V supply range and are guaranteed monotonic by design. The AD5674 and AD5674R incorporate a Power-On Reset (POR) circuit that ensures the DAC outputs power up to and remains at zero-scale or midscale until a valid write. These devices also feature a power-down mode that reduces the current consumption to 2μA. Analog Devices Inc. AD5674 and AD5674R are RoHS compliant and available in a compact 28-lead Lead Frame Chip Scale Package (LFCSP).Features
- High performance
- TUE: ±0.14% of FSR maximum
- Offset error: ±1.5mV maximum
- Gain error: ±0.06% of FSR maximum
- Low drift, 2.5V voltage reference temperature coefficient: 2ppm/°C (AD5674R only)
- 40 mA short-circuit current
- Wide operating ranges
- -40°C to +125°C temperature range
- 2.7V to 5.5V power supply range
- Simplified implementation
- User-selectable gain of 1 or 2 (GAIN pin)
- 1.8V logic compatibility
- 50MHz serial peripheral interface (SPI) with readback or daisy chain
- LFCSP-28 package type
- 4mm × 4mm dimensions
- RoHS compliant
Applications
- Optical transceivers
- Base station power amplifiers
- Industrial automation
- Data acquisition systems
- Process control
- Programmable Logic Controllers (PLC)
- Input/output cards
Block Diagram
Đã phát hành: 2019-12-27
| Đã cập nhật: 2024-03-05
