Analog Devices Inc. ADPA1122 20W GaN Power Amplifier
Analog Devices Inc. ADPA1122 20W GaN Power Amplifier provides 43dBm (20W) with more than 43% power added efficiency (PAE) across the 8.2GHz to 11.8GHz frequency range. The ADPA1122 gallium nitride (GaN) power amplifier delivers ±0.5dB of gain flatness from 9.6GHz to 11GHz. The ADI ADPA1122 is optimized for pulsed military, marine, and weather radar applications.The ADPA1122 is housed in an 18-terminal, 7mm × 7mm, ceramic leadless chip carrier with a heat sink [LCC_HS]. The package exhibits low thermal resistance and is compatible with surface-mount manufacturing techniques.
Features
- Internally matched and AC-coupled 20W GaN power amplifier
- Integrated temperature-compensated RF power detector
- POUT with PIN = 22dBm, 43.5dBm typical from 9.6GHz to 11GHz
- Small signal gain of 31dB typical from 9.6GHz to 11GHz
- Power gain with PIN = 22dBm: 21.5dB typical from 8.2GHz to 11GHz
- PAE is 46% typical from 9.6GHz to 11GHz
- Supply voltage of 28V at 200mA on 10% duty cycle
- 18-terminal, 7mm × 7mm, LCC_HS package
Applications
- Weather radars
- Marine radars
- Military radars
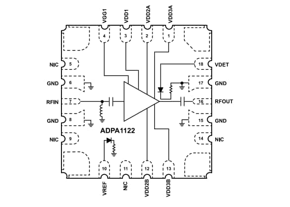
Functional Block Diagram
Đã phát hành: 2023-05-18
| Đã cập nhật: 2023-05-30
