Analog Devices Inc. ADRF5080 100MHz to 20GHz Silicon SP8T Switches
Analog Devices Inc. ADRF5080 100MHz to 20GHz Silicon SP8T Switches are cutting-edge reflective SP8T switches crafted with precision. The Analog Devices Inc. ADRF5080 covers a frequency range of 100MHz to 20GHz. The device boasts performance with an insertion loss below 2.0dB and an isolation surpassing 40dB.Features
- 100MHz to 20GHz ultrawideband frequency range
- Low insertion loss
- 1.3dB up to 6GHz
- 1.6dB up to 12GHz
- 2.0dB up to 20GHz
- High isolation
- 46dB up to 6GHz
- 45dB up to 12GHz
- 40dB up to 20GHz
- High input linearity
- 33dBm typical P0.1dB
- 55dBm typical IP3
- High RF power handling
- 33dBm insertion loss path
- 30dBm hot switching
- 55ns fast switching on and off time
- 0.1dB settling time (50% VCTRL to 0.1dB final RFOUT) 100ns
- Single-supply operation capability
- All off-state control
- Logic select control
- No low-frequency spurs
- 36-terminal, 5.50mm x 5.50mm LGA package
Applications
- Test and instrumentation
- Military radios, radars, and electronic countermeasures (ECMs)
- Microwave radios and very small aperture terminals (VSATs)
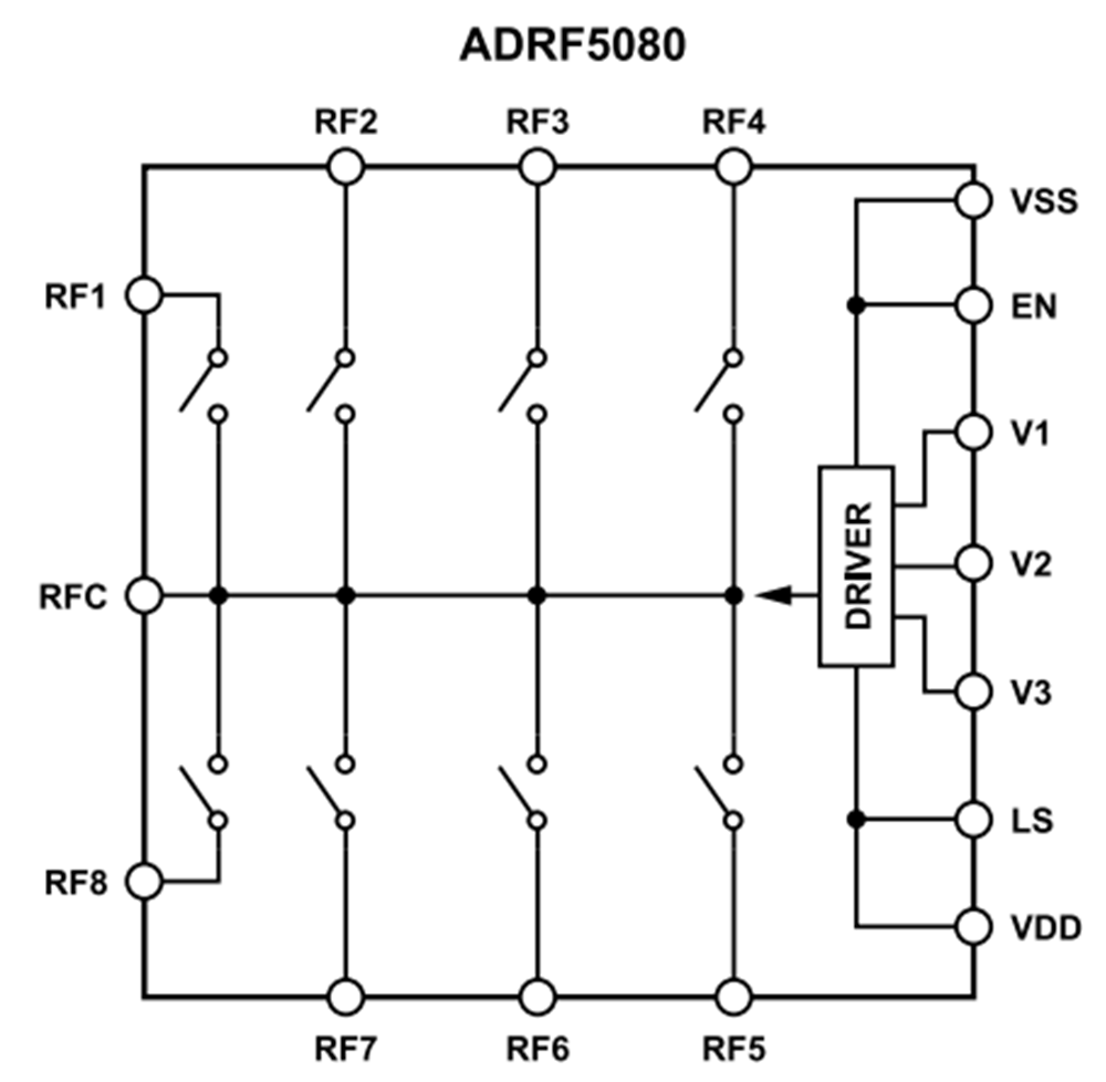
FUNCTIONAL BLOCK DIAGRAM
Evaluation Board
Đã phát hành: 2023-08-07
| Đã cập nhật: 2023-08-25
