Analog Devices Inc. ADSP-21992 Mixed-Signal DSP Controller
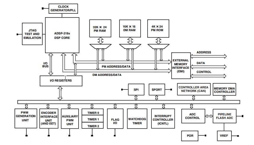
Analog Devices ADSP-21992 Mixed-Signal DSP Controller offers an ADSP-2199x DSP core, excellent for various high-performance industrial motor control and signal processing applications. These ideal applications require combining a high-performance DSP and the mixed-signal integration of embedded control peripherals, such as analog-to-digital conversion, with communications interfaces such as CAN.The ADI ADSP-21992 further expands the capabilities of the ADSP-2199x mixed-signal DSP family by offering 32K words of program memory and 16K words of data memory RAM. Additionally, the ADSP-21992 provides an on-chip CAN communications port that provides full CAN 2.0B support, with 16 configurable mailboxes and individual acceptance filters.
Features
- ADSP-2199x, 16-bit, fixed-point DSP core with up to 160MIPS sustained performance
- 48K words of on-chip RAM, as 32K words on-chip 24-bit program RAM, and 16K words on-chip, 16-bit data RAM
- External memory interface
- Dedicated memory DMA controller for data/instruction transfer between internal/external memory
- Programmable PLL and flexible clock generation circuitry enables full-speed operation from low speed input clocks
- IEEE JTAG Standard 1149.1 test access port supports on-chip emulation and system debugging
- 8-channel, 14-bit analog-to-digital converter system, with up to 20MSPS sampling rate (at 160MHz core clock rate)
- 3-phase 16-bit center based PWM generation unit with 12.5ns resolution at 160MHz core clock (CCLK) rate
- Dedicated 32-bit encoder interface unit with companion encoder event timer
- Dual 16-bit auxiliary PWM outputs
- 16 general-purpose flag I/O pins
- 3 programmable 32-bit interval timers
- SPI communications port with master or slave operation
- Synchronous serial communications port (SPORT) capable of software UART emulation
- Controller area network (CAN) module, fully compliant with V2.0B standard
- Integrated watchdog timer
- Dedicated peripheral interrupt controller with software priority control
- Multiple boot modes
- Precision 1.0V voltage reference
- Integrated power-on-reset (POR) generator
- Flexible power management with selectable power-down and idle modes
- 2.5V internal operation with 3.3V I/O
- Operating temperature ranges of -40°C to +85°C and -40°C to +125°C
Functional Block Diagram
Đã phát hành: 2024-07-30
| Đã cập nhật: 2024-08-26
