Analog Devices / Maxim Integrated DS28C40 DeepCover Automotive I2C Authenticators
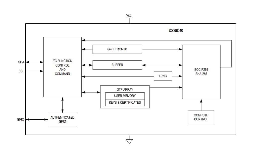
Analog Devices DS28C40 DeepCover Automotive I2C Authenticators provide a core set of cryptographic tools derived from integrated asymmetric (ECC-P256) and symmetric (SHA-256) security functions. The devices integrate a FIPS/NIST true random number generator (TRNG), 6kb of one-time programmable (OTP) memory for user data, keys and certificates, one configurable GPIO, and a unique 64-bit ROM identification number (ROM ID). The ECC public/private key capabilities operate from the NIST-defined P-256 curve, including FIPS 186-4 compliant ECDSA signature generation and verification to support a bidirectional asymmetric key authentication model. The SHA-256 secret-key capabilities comply with FIPS 180 and allow flexibility when used in conjunction with ECDSA operations or independently for multiple HMAC functions.The Analog Devices DS28C40 DeepCover Automotive I2C Authenticator's GPIO pin can be operated under command control and includes configurability supporting the authenticated and unauthenticated operation. This includes an ECDSA-based crypto-robust mode to support the secure boot of a host processor. DeepCover® embedded security solutions cloak sensitive data under multiple layers of advanced security, providing the most secure key storage possible. Invasive and non-invasive countermeasures, including active die shield, encrypted storage of keys, and algorithmic methods, are implemented to protect against device-level security attacks.
Features
- ECC-P256 compute engine
- FIPS 186 ECDSA P256 signature generation and verification
- ECDH key exchange for session key establishment
- ECDSA authenticated R/W of configurable memory
- SHA-256 compute engine
- FIPS 198 HMAC for bidirectional authentication
- SHA-256 one-time pad encrypted R/W of configurable memory using an ECDH-established key
- One GPIO pin with optional authentication control
- Open-drain, 4mA/0.4V
- Optional SHA-256 or ECDSA authenticated On/Off and state read
- Optional ECDSA certificate verification to set On/Off after multiblock hash for secure boot
- TRNG with NIST SP 800-90B compliant entropy source with function to readout
- Optional chip-generated Private/Public (Pr/Pu) key pairs for ECC operations
- 6Kb of One-Time Programmable (OTP) for user data, keys, and certificates
- Unique and unalterable factory-programmed 64-bit identification number (ROM ID)
- Optional input data component to crypto and key operations
- I2C communication up to 1MHz
- 3.3V ±10%, -40°C to +125°C operating range
- 10-pin, 3mm x 4mm TDFN package
- AEC-Q100 Grade 1
Applications
- Automotive secure authentication
- Identification and calibration of automotive parts/tools/accessories
- IoT node crypto-protection
- Secure authentication of accessories and peripherals
- Secure storage of cryptographic keys for a host controller
- Secure boot or download of firmware and/or system parameters
Videos
Simplified Block Diagram
Typical Application Circuit
Additional Resources
Đã phát hành: 2019-07-23
| Đã cập nhật: 2025-08-14
