Analog Devices / Maxim Integrated MAX20743 Step-Down Switching Regulator
Analog Devices MAX20743 Step-Down Switching Regulators are fully integrated, highly efficient switching regulators with PMBus™ for applications operating from 4.5V to 16V and requiring up to 35A maximum load. This single-chip regulator provides extremely compact, high-efficiency power delivery solutions with high-precision output voltages and excellent transient response for networking, datacom, and telecom equipment. The MAX20743 regulator offers a broad range of programmable features through either the PMBus or a capacitor and resistor connected to a dedicated programming pin.This feature can optimize the operation for a specific application, reducing the component count and/or setting appropriate trade-offs between the regulator’s performance and system cost. The Analog Devices MAX20743 step-down switching regulator offers the ease of programming that enables using the same design for multiple applications.
Features
- High-Power Density and Low Component Count:
- Overall Solution Size 509mm2 Including Inductor and Output Capacitors
- 90.8% Peak Efficiency with VDDH = 12V and VOUT = 1V
- Fast Transient Response: Supports Up to 300A/μs Load-Step Transients
- Optimized Component Performance and Efficiency with Reduced Design-In Time:
- PMBus-Compliant Interface for Telemetry and Power Management
- Voltage, Current, and Temperature Reporting through Digital Bus
- Increased Power-Supply Reliability with System and IC Self-Protection Features:
- Differential Remote Sense with Open-Circuit Detection
- Hiccup Overcurrent Protection
- Programmable Thermal Shutdown
Applications
- Communication Equipment
- Networking Equipment
- Servers and Storage Equipment
- Point-of-Load Voltage Regulators
- μP Chipset
- Memory VDDQ
- I/O
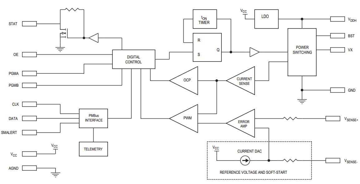
MAX20743 Block Diagram
Typical System Efficiency vs. Load Current (VDDH = 12V)
Đã phát hành: 2017-07-13
| Đã cập nhật: 2023-04-17
