Apex Microtechnology VRE204 Low Drift Precision Voltage Reference
Apex Microtechnology VRE204 Low Drift Precision Voltage Reference provides an ultrastable +4.5V output with up to ±0.8mV initial accuracy. The VRE204 also provides a 1.48ppm/°C temperature coefficient over the full military temperature range. These references are designed explicitly for successive-approximation type Analog-to-Digital Converters (ADCs). Specify an ADC with exceptional temperature drift, which can only be as good as the external reference that is used. The Apex Microtechnology VRE204 combined with a proper ADC will obtain the lowest drift data conversion. These devices are available in the -55°C to +125°C military operating temperature range and two performance grades. The devices are housed in a 20-terminal LCC ceramic package for maximum long-term stability. These "M" versions are screened for high reliability and quality.Features
- +4.5V output, ±0.8mV high accuracy
- 1.48ppm/°C (-55°C to +125°C) low drift
- 6ppm/1000 hours typical excellent stability
- 6ppm/V typical excellent line regulation
- ±13.5V to ±22.0V wide supply range
- Military processing option
Applications
- Precision A/D and D/A converters
- Transducer excitation
- Accurate comparator threshold reference
- High-resolution servo systems
- Digital voltmeters
- High-precision test and measurement instruments
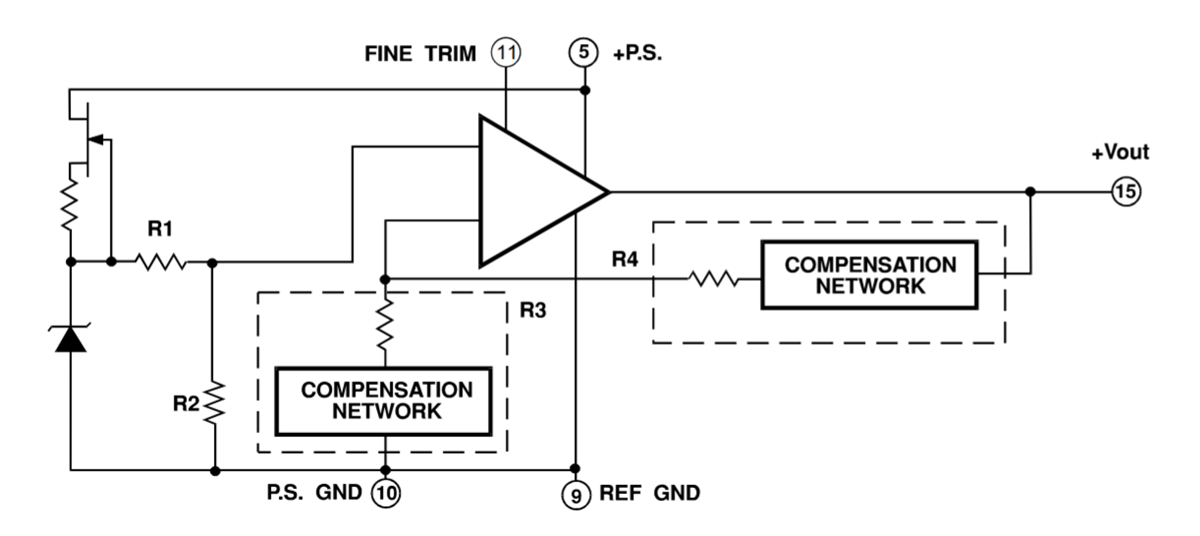
BLOCK DIAGRAM
Đã phát hành: 2020-08-24
| Đã cập nhật: 2024-04-09
