Diodes Incorporated AP3441/L & AP3445/L Step-down DC-DC Converters
Diodes Incorporated AP3441/L and AP3445/L Step-down DC-DC Converters offer excellent stability, fast transient response, and excellent line and load regulation with high efficiency. The Diodes Incorporated devices deliver 2A (AP3441/L) and 3A (AP3445/L) maximum output current. These synchronous DC-DC buck converters consume only 55μA of no-load quiescent current. Ultra-low RDS(ON) integrated MOSFETs, and 100% duty cycle operation make these devices ideal for high output voltage and high current applications requiring a low dropout threshold. Pulse skip mode maintains high efficiency at light-load conditions.The AP3441/L is offered in a W-DFN2020-8 package. The AP3445/L is available in the SOT236 package. All package options are lead-free, halogen-free, and antimony-free and are entirely RoHS compliant.
Features
- 2.7V to 5.5V input voltage
- 0.6V to VIN output voltage
- Output Current
- AP3441, AP3441L, 2A
- AP3445, AP3445L, 3A
- 0.6V reference voltage with ±1.5% precision
- 55µA (Typ) no load quiescent current
- <1µA shutdown current
- 100% duty cycle operation
- 1MHz switching frequency
- No external compensation required
- Thermal shutdown
- Short circuit protection
- AP3441, AP3445 hiccup mode protection
- AP3441L, AP3445L latch off protection
- Over-voltage protection
- AP3441, AP3445 non-latch off protection
- AP3441L, AP3445L latch off protection
- Totally lead-free and fully RoHS compliant
- Halogen and antimony free "green" device
- Package
- AP3441/L, W-DFN2020-8
- AP3445/L, SOT236
Applications
- Post DC-DC voltage regulation
- Set-top boxes
- Notebook computers
- Tablets
Brochures
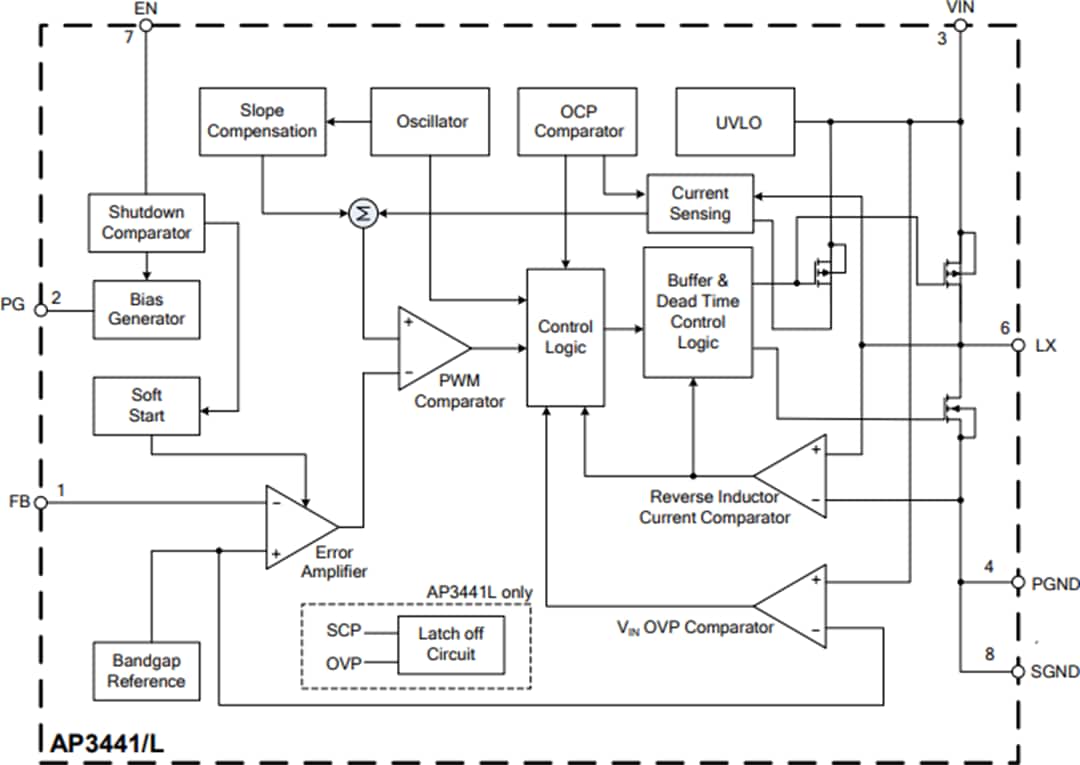
AP3441/L Block Diagram
AP3445/L Block Diagram
Application Diagrams
View Results ( 3 ) Page
| Mã Phụ tùng | Đóng gói / Vỏ bọc | Dòng đầu ra | Bảng dữ liệu |
|---|---|---|---|
| AP3445LW6-7 | SOT-26-6 | 2 A | ![]() |
| AP3441LSHE-7B | DFN-2020-8 | 3 A | ![]() |
| AP3441SHE-7B | DFN-2020-8 | 3 A | ![]() |
Đã phát hành: 2019-02-12
| Đã cập nhật: 2023-07-17

