Diodes Incorporated AP2205 Wide Input Voltage Range ULDO Regulators
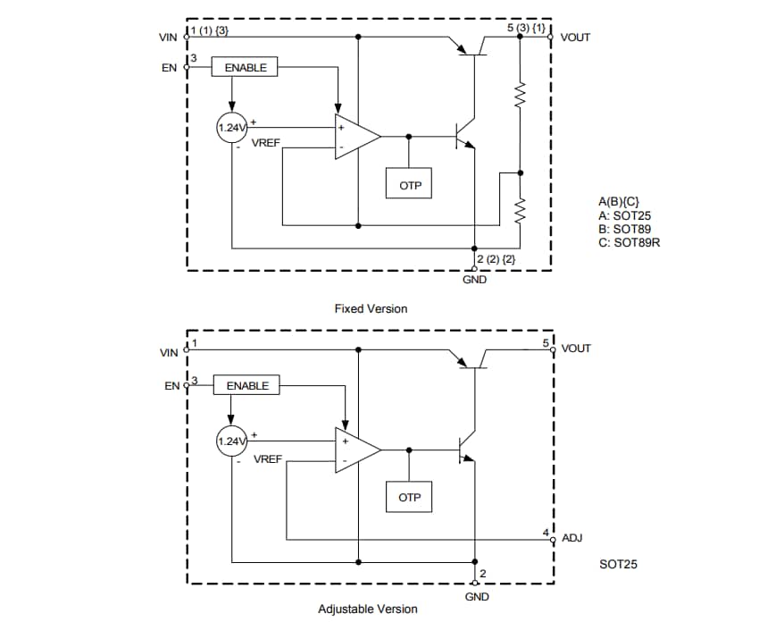
Diodes Inc. AP2205 ULDO Regulators feature a wide input voltage range, high accuracy, high ripple rejection, low dropout voltage, low noise, current limit, and ultra-low quiescent current. The Diodes Inc. AP2205 is produced by a high-voltage EPNP and is ideal for use in various USB and portable devices.The AP2205 regulators consist of a voltage reference, an error amplifier, a resistor network for setting output voltage, a current limit circuit for current protection, and a chip enable circuit. Additionally, the AP2205 provides a low-power shutdown mode for extended battery life, overcurrent protection, over-temperature protection, and reversed-battery protection.
The device provides a wide input voltage range of 2.3V to 24V and an output voltage range of 1.24V to 22V. The AP2205 is available in a compact SOT25 and SOT89 package with 1.5V, 1.8V, 2.5V, 2.8V, 3.0V, 3.3V, 5.0V fixed voltage, and an adjustable voltage version.
Features
- 2.3V to 24V wide input voltage range
- 1.24V to 22V wide output voltage range
- 60dB@ f=1kHz excellent ripple rejection
- VDROP = 100mV@ IOUT=100μA low dropout voltage
- Low ground current
- High output voltage accuracy
- Compatible with low ESR ceramic capacitor
- Excellent line/load regulation
- Thermal shutdown function
Applications
- Battery-powered equipment
- Laptop, palmtops, notebook computers
- Portable information appliances
- Industrial/automotive applications
Block Diagram
Đã phát hành: 2019-06-11
| Đã cập nhật: 2023-07-24
