Diodes Incorporated AP61406Q I2C Buck Converters
Diodes Incorporated AP61406Q I2C Buck Converters offer a 2.3V to 5.5V input voltage range and are selectable up to 4A. The synchronous buck converter fully integrates a 75mΩ high-side power MOSFET and a 33mΩ low-side power MOSFET to supply high-efficiency step-down DC/DC conversion. The Diodes Inc AP61406Q is easy to use, minimizing external component count through its constant-on-time (COT) control, which achieves fast transient responses, eases loop stabilization, and reduces output voltage ripple.
The series presents both fixed and adjustable output voltages. The converters also use a proprietary gate driver scheme to mitigate switching-node ringing without sacrificing MOSFET turn-on and turn-off times, thereby reducing high-frequency radiated EMI noise caused by MOSFET switching.
The AP61406Q features an I2C-compatible, 2-wire serial interface incorporating a bidirectional serial-data line, SDA, and a serial-clock line, SCL. The device supports SCL clock rates up to 3.4MHz.
The AP61406Q has optimized designs for a small form factor. The device is available in a W-QFN1520-8/SWP (Type UX) package.
The AP61406Q is suitable for automotive applications requiring specific change control; it is AEC-Q100 qualified, PPAP-capable, and manufactured in IATF 16949-certified facilities.
Features
- AEC-Q100 qualified with the following results
- Device temperature grade 1: -40°C to +125°C TA
- Device HBM ESD classification level H1C
- Device CDM ESD classification level C3B
- Functional safety-capable – documentation available to aid functional safety system design
- 20µA ultra-low quiescent current (Pulse-Frequency Modulation)
- I2C interface up to 3.4MHz SCL clock rates
- Programmable mode - PFM/PWM
- Programmable frequency - 1MHz, 1.5MHz, 2MHz, 2.5MHz
- Programmable IOUT – 1A/2A/3A/4A
- 20mV increment VOUT adjust
- Wettable flange
- VIN 2.3V to 5.5V
- 0.300V to 3.600V wide output voltage range
- 0.5V ±2% reference voltage (default setting)
- Power-good indicator
- Protection circuitry
- Undervoltage Lockout (UVLO)
- VIN Overvoltage Protection (OVP)
- Peak and valley current limit
- Thermal shutdown
- Totally lead-free and fully RoHS compliant
- Halogen and antimony-free “Green” device
- AEC-Q100 qualified, PPAP capable, and manufactured in IATF 16949 certified facilities (AP61406Q)
Applications
- Automotive power systems
- Automotive infotainment
- Automotive instrument clusters
- Automotive telematics
- Advanced driver assistance systems
Specifications
- Buck type
- 75mΩ HS RDS(ON)
- 33mΩ LS RDS(ON)
- 5.5V maximum input voltage
- 2.3V minimum input voltage
- 20µA quiescent current type
- 0.02µA shutdown current type
- 4A output current
Typical Application Schematic
Efficiency vs. Output Current
Pin Assignments
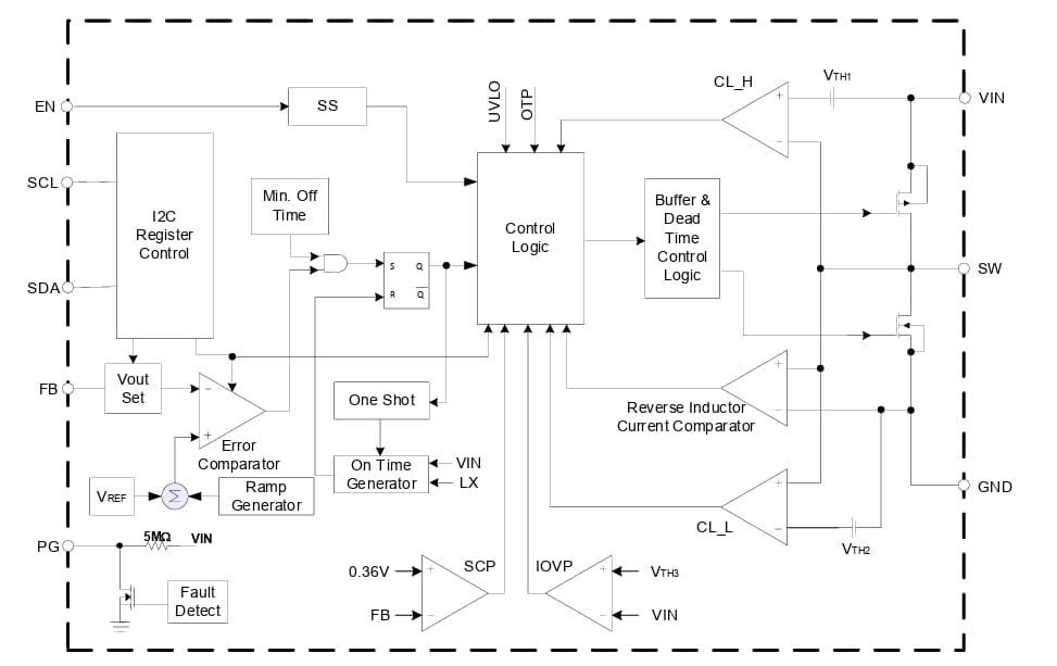
Functional Block Diagram
