FTDI Chip FT311D/12D USB Android Host ICs & Dev Modules
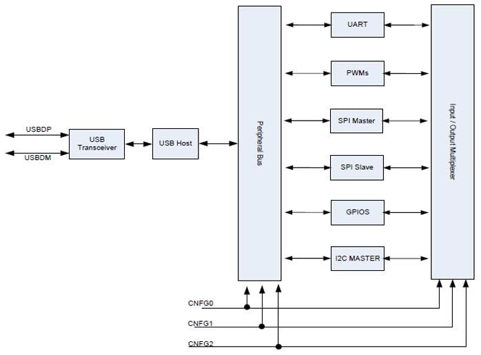
FTDI's FT311D and FT312D USB Android Host ICs are Full Speed USB hosts specifically targeted at providing access to peripheral hardware from an Android platform with a USB device port. FT311D will bridge the USB port to six user selectable interface types and has advanced features that include single chip USB to selectable interface, entire USB protocol handled on the chip, interface selectable via 3 mode select pins, basic UART interface with RXD, TXD, RTS, CTS pins, 4 PWM channels, I2C master interface, SPI slave or master interface option supporting modes 0, 1, 2, and 3 with MSB/LSB, and USB error indicator pin. FT312D features a UART interface for peripheral integration. See below for development modules.Features
- FT311D Features
- Single-chip USB to selectable interface
- Entire USB protocol handled on the chip
- No USB-specific firmware programming required
- Interface options selectable via three-mode select pins
- 7 GPIO lines interface option
- Basic UART interface with RXD, TXD, RTS, CTS pins option
- TX_ACTIVE signal for controlling transceivers on RS485 interfaces
- 4 PWM channels option
- I2C master interface option
- SPI Slave interface option supporting modes 0, 1, 2, and 3 with MSB/LSB options
- SPI Master interface option supporting modes 0, 1, 2, and 3 with MSB/LSB options
- USB error indicator pin
- Suitable for use on any Android platform supporting Android Open Accessory Mode (Typically 3.1 onwards however, some platforms may port Open Accessory Mode to version 2.3.4)
- 12MHz oscillator using an external crystal
- Integrated power-on-reset circuit
- +3V3 Single Supply Operation with 5V tolerant inputs
- USB 2.0 Full Speed compatible
- -40⁰C to 85⁰C extended operating temperature range
- Available in compact Pb-free 32 Pin LQFP and QFN packages (both RoHS compliant)
- FT312D Features
- USB 2.0 Full Speed Host
- USB to UART bridge
- USB ERROR indicator pin
- Single power supply operation at 3.3V
- Internal 1.8V LDO regulator
- Internal memory for storing configurable strings – allows Android to automatically detect the device and application
- Extended operating temperature range: -40°C to 85°C
- Available in Pb-free QFN-32 and LQFP-32 packages (RoHS compliant).
Applications
- Connecting Android phones to USB accessories
- Connecting Android tablets to USB accessories
- Controlling instrumentation from Android devices
- Home automation via Android devices
- Data logging from USB accessories
- Connecting serial printing devices to Android devices
Block Diagram
View Results ( 8 ) Page
| Mã Phụ tùng | Bảng dữ liệu | Mô tả | Dòng cấp nguồn vận hành | Loại |
|---|---|---|---|---|
| FT312D-32L1C-T | ![]() |
USB Interface IC USB Android Host IC | 128 uA, 25 mA | Host Controller |
| FT311D-32L1C-R | ![]() |
USB Interface IC USB Android Host Controller IC LQFP32 | 25 mA | Host Controller |
| FT312D-32Q1C-T | ![]() |
USB Interface IC USB Android Host IC | 128 uA, 25 mA | Host Controller |
| FT312D-32L1C-R | ![]() |
USB Interface IC USB Android Host IC | 128 uA, 25 mA | Host Controller |
| FT311D-32L1C-T | ![]() |
USB Interface IC USB Android Host Controller IC LQFP32 | 25 mA | Host Controller |
| FT311D-32Q1C-R | ![]() |
USB Interface IC USB Android Host Controller IC QFN-32 | 25 mA | Host Controller |
| FT311D-32Q1C-T | ![]() |
USB Interface IC USB Android Host Controller IC QFN-32 | 25 mA | Host Controller |
| FT312D-32Q1C-R | ![]() |
USB Interface IC USB Android Host IC | 128 uA, 25 mA | Host Controller |
Đã phát hành: 2012-08-30
| Đã cập nhật: 2022-03-11

