Microchip Technology EQCO5X31 USB 3.2 Reclocker/Redriver
Microchip Technology EQCO5X31 USB 3.2 Reclocker/Redriver incorporates EyeOpen™ and MarginLink™ technologies for performance and reliability. Microchip Technology EQCO5X31 can reclock and drive a USB 3.2 SuperSpeed signal over a cable spanning up to 16 meters. The EQCO5X31 surpasses industry standards, enabling longer-reach applications. Notably, it extends the maximum cable length from 1 meter (as recommended for USB 2.0) to an impressive 5 meters for both USB 2.0 and USB 3.2.Features
- Extending the reach of USB 3.2 Gen 1 (SuperSpeed) up to 16m
- Cable types supported are Shielded Twisted Pair (STP) and Coax
- Cable lengths supported
- Up to 5m when USB 2.0 signaling is included in a cable
- Up to 16m when USB 3.2 only
- EyeOpen technology automatically performs cable compensation 0 to 24dB with 1dB steps
- MarginLink integrated signal integrity test capability
- Reference Clock-free operation (no crystal or clock needed)
- Clock-Data Recovery (CDR) restores signal timing integrity in both directions
- Internal terminations for a low external component count
- Transparent for all USB 3.2 SuperSpeed signaling, including LFPS and electrical-idle
- Dual Channel Single Lane
- 20-pin 4mm QFN package with wettable flanks
- Low power consumption/single supply @ 1.2V
- Ultra-low power sleep mode when a link is idle for a sustained period
- Industrial temperature range
Applications
- Extended reach for video conference systems
- Extended reach cable for VR gaming applications
- Extending active USB 3.2 cables
- Extending USB3 Vision™ systems
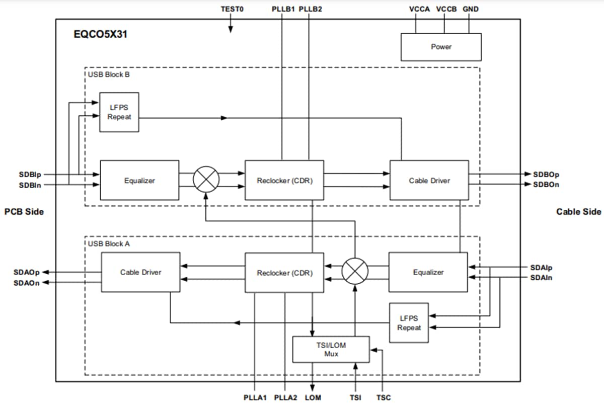
Block Diagram
Đã phát hành: 2023-06-20
| Đã cập nhật: 2023-08-08
