Microchip Technology LAN8840 Gigabit Ethernet Transceivers
Microchip Technology LAN8840 Gigabit Ethernet (GbE) Transceivers are integrated triple-speed (10BASE-T/100BASE-TX/1000BASE-T) Ethernet physical-layer transceivers for transmission and reception of data. These transceivers provide switches for data transfer at 10Mbps/100Mbps/1000Mbps and Reduced Gigabit Media Independent Interface (RGMII) for direct connection to RGMII MACs. The LAN8840 transceivers feature on-chip termination resistors to indicate differential pair and signal quality. These transceivers feature RGMII with 3.3V/2.5V/1.8V tolerant I/Os and IEEE 1588v2 support. The LAN8840 transceivers feature an interrupt pin option, power-down and power-saving modes, and baseline wander correction. These transceivers offer Wake-On-LAN (WOL) support with robust custom packet detection and programmable LED outputs for link, activity, and speed.The LAN8840 transceivers simplify board layout using on-chip termination resistors and reduce board cost by integrating an LDO controller. These transceivers operate at -40°C to 105°C extended industrial temperature range. The LAN8840 transceivers are ideally used in industrial control, game console, IPTV, broadband gateway, laser/network printers, network servers, and IP set-top boxes.
Features
- Single-chip 10Mbps/100Mbps/1000Mbps Ethernet transceivers suitable for IEEE 802.3 applications
- On-chip termination resistors for the differential pairs
- Jumbo frame support upto 16KB
- 125MHz reference clock output
- Energy detects power down mode for reduced power consumption when the cable is not attached
- Wake-On-LAN (WOL) support with robust custom packet detection
- Programmable LED outputs for link, activity, and speed
- Baseline wander correction
- LinkMD® TDR-based cable diagnostic to identify faulty copper cabling
- EtherSynch® technology IEEE 1588v2/PTP
- Energy Efficient Ethernet (EEE) support with Low-Power Idle (LPI) mode and clock stoppage for 100BASE-TX/1000BASE-T
- Transmit amplitude reduction with the 10BASE-Te option
- Five programmable LED outputs for link, activity, and speed offering LAN8840 gigabit Ethernet transceivers
- Signal quality indication
- MDC/MDIO management interface for PHY register configuration
- Loopback modes for diagnostics
- Automatic detection and correction of pair swaps, pair skew, and pair polarity
- Parametric NAND tree support to detect faults between chip I/Os and board
- Interrupt pin option
- Power-down and power-saving modes
Specifications
- 48-pin VQFN (7mm × 7mm) package
- Upto 16KB jumbo frame support
- -40°C to 105°C extended industrial operating temperature range
Applications
- Industrial control
- Laser/network printer
- Network Attached Storage (NAS)
- Network server
- Gigabit LAN On The Motherboard (GLOM)
- Broadband gateway
- Gigabit SOHO/SMB router
- IPTV
- IP set-top box
- Game console
- Triple play (data, voice, and video) media center
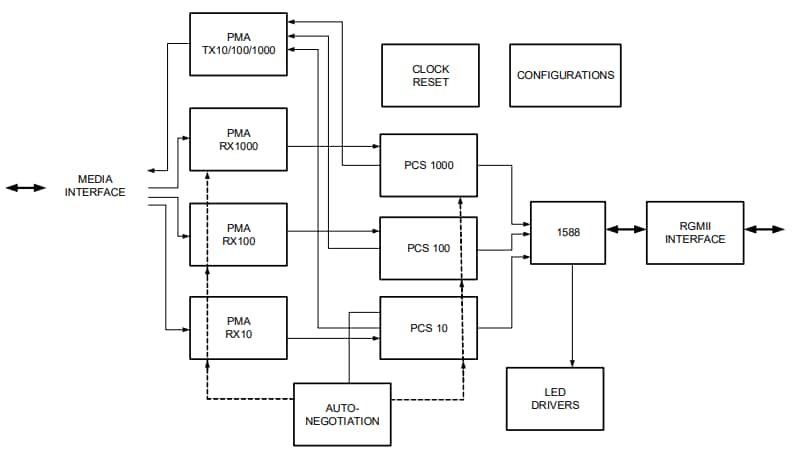
System Block Diagram
LAN8840 Block Diagram
Đã phát hành: 2023-06-06
| Đã cập nhật: 2023-07-10
