Microchip Technology MCP1662 LED Lighting Drivers
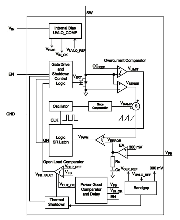
Microchip Technology MCP1662 LED Lighting Drivers are compact, space-efficient, fixed-frequency, non-synchronous step-up converters. These LED drivers are optimized to drive LED strings with a constant current from two/three-cell alkaline or Lithium energizers, NiMH/NiCd, or one-cell Lithium-Ion/Li-Polymer batteries. The MCP1662 lighting drivers blend a 36V and 800mΩ low-side switch protected by 1.3A cycle-by-cycle inductor peak current limit operation. The LED lighting drivers feature an Undervoltage Lockout (UVLO) that avoids start-up with low inputs or discharged batteries for two-cell-powered applications. These MCP1662 drivers offer open load protection. Typical applications include camera flash, medical equipment, LED flashlights, and backlight current source.Features
- 36V and 800mΩ integrated switch
- Up to 92% efficiency
- Drive LED strings in constant current
- 1.3A peak input current limit
- 2.4V to 5.5V input voltage range
- 300mVFB feedback voltage references
- Undervoltage lockout (UVLO)
- 2.3VIN (typical) rising
- 1.85VIN (typical) falling
- Sleep mode with 20nA (typical) quiescent current
- 500kHz switching frequency PWM operation
- Cycle-by-cycle current limiting
- Internal compensation
- Open Load Protection (OLP) in the event of:
- Feedback pin shorted to GND
- Disconnected LED string
- Overtemperature protection
Applications
- Two- and three-cell alkaline or NiMH/NiCd white LED drivers for backlighting products
- Li-Ion battery LED lighting application
- Camera flash
- LED flashlights and backlight current source
- Medical equipment
- Portable devices:
- Handheld gaming devices
- GPS navigation systems
- LCD monitors
- Portable DVD players
Block Diagram
Typical Application Circuit
Đã phát hành: 2019-12-24
| Đã cập nhật: 2023-06-12
