Microchip Technology PIC16F1845x 8-Bit Microcontrollers
Microchip PIC16F1845x 8-Bit Microcontrollers are designed to combine intelligent analog, Core Independent Peripherals (CIPs), and communication peripherals with eXtreme Low-Power (XLP) technology. These microcontrollers offer flexible solutions through a 12-bit Analog-to-Digital Converter with Computation (ADC2), Memory Access Partitioning (MAP), the Device Information Area (DIA), and Peripheral-Pin-Select (PPS). The PIC16F1845x microcontrollers operate within -40°C to +85°C temperature range and 1.8V to 3.6V (PIC16LF1845x) or 2.3V to 5.5V (PIC16F1845x) voltage range. The PIC16(L)F1845x 8-Bit Microcontrollers are available in 28-pin SPDIP, SSOP, SOIC, and VQFN packages to suit the requirements of the designers.Features
- Core
- C compiler-optimized RISC architecture
- Only 50 instructions
- Operating speed
- DC to 32MHz clock input
- 125ns minimum instruction cycle
- Interrupt Capability
- 16-Level deep hardware stack
- Timers:
- Up to two 24-bit timers
- Up to four 8-bit timers
- Up to four 16-bit timers
- Low-Current Power-on Reset (POR)
- Configurable Power-up Timer (PWRT)
- Brown-out Reset (BOR)
- Low-Power BOR (LPBOR) Option
- Windowed Watchdog Timer (WWDT)
- Variable prescaler selection
- Variable window size selection
- Configurable in hardware (Configuration Words) and/or software
- Programmable Code Protection
- Memory
- Up to 28KB program flash memory
- Up to 2KB data SRAM memory
- 256B Data EEPROM
- Direct, indirect, and relative addressing modes
- Memory Access Partition (MAP)
- Write-protect
- Customizable partition
- Device Information Area (DIA)
- Device Configuration Information (DCI)
- eXtreme Low-Power (XLP) technology
- Sleep mode, 50nA @ 1.8V (typical)
- Watchdog timer, 500nA @ 1.8V (typical)
- Secondary oscillator, 500nA @ 32kHz
- Operating current
- 8µA @ 32kHz, 1.8V (typical)
- 32µA/MHz @ 1.8V (typical)
Specifications
- Flash-type program Memory
- 28KB Program Memory Size
- 8 CPU Speed (MIPS/DMIPS)
- 2048 bytes SRAM
- 256 bytes data EEPROM/HEF
- Digital Communication Peripherals
- 2x UART
- 2x SPI
- 2x I2C
- 5 Capture/compare/PWM peripherals
- 4x 8-bit and 4 x 16-bit timers
- 24-channel 12-bit ADC input
- 2 comparators
- -40°C to +125°C temperature range
- Operating voltage ranges:
- PIC16LF18456 @ 1.8V to 3.6V
- PIC16F18456 @ 2.3V to 5.5V
- 28 pin count
Documents
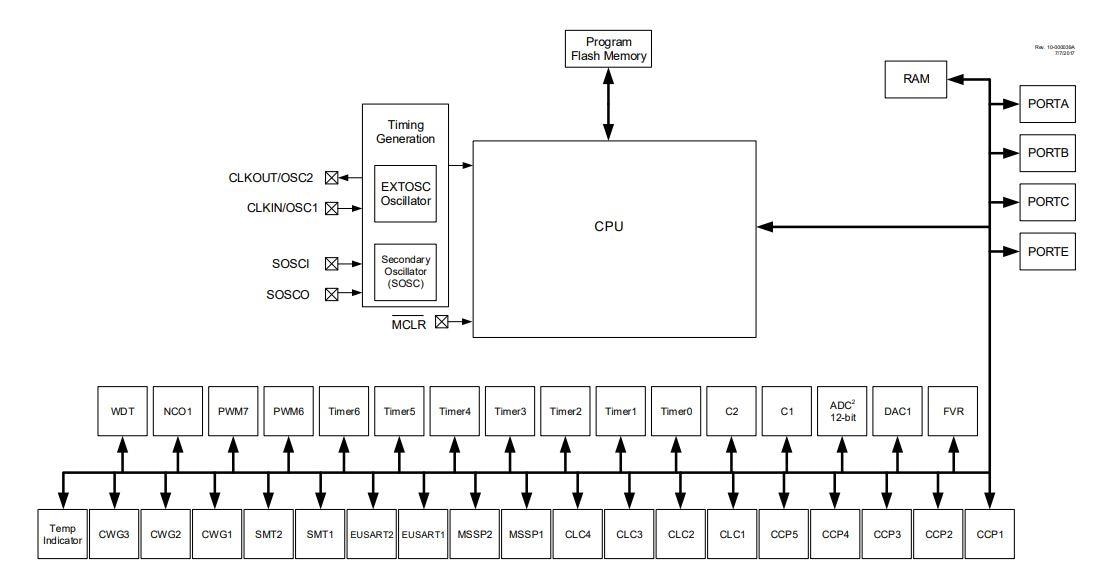
Block Diagram
Đã phát hành: 2018-08-02
| Đã cập nhật: 2022-11-15
