Microchip Technology RNWF02 Add On Board
Microchip Technology RNWF02 Add On Board is an efficient, low-cost development platform for evaluating and demonstrating the features and functionalities of the RNWF02PC Low-Power Wi-Fi® module. This plug-in board complies with the mikroBUS standard and includes an onboard MCP2200 USB-to-UART Converter, enabling out-of-the-box evaluation. The signals required for the control interface are connected to the onboard connectors of the Add On Board for flexibility and rapid prototyping. The Add-On Board can be plugged easily into the host board and controlled by the host Microcontroller Unit (MCU) with AT commands through UART.Features
- RNWF02PC low-power 2.4GHz IEEE® 802.11b/g/n-compliant Wi-Fi module
- Powered at 3.3V supply either by USB Type-C® (derived default 3.3V supply from host PC) or by host board using mikroBUS interface
- Easy and fast evaluation with onboard USB-to-UART serial converter in PC companion mode
- Host companion mode using mikroBUS socket
- Exposes Microchip Trust&Go CryptoAuthentication™ IC through mikroBUS interface for secure applications
- LED for power status indication
- Hardware support for 3-wire PTA interface to support BLUETOOTH® co-existence
Applications
- Smart factories/control devices
- Security systems and CCTV
- Smart homes/lighting and smart locks
- Computing, Wi-Fi dongles, and protocol bridging
- Internet of Things (IoT) sensor tags
- Remote controls
- Wearable smart devices
- Industrial control
Overview
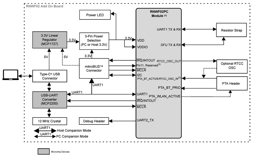
Block Diagram
Power Supply Block Diagram
Đã phát hành: 2024-11-08
| Đã cập nhật: 2024-11-15
