Monolithic Power Systems (MPS) MPQ5871 Smart High-Side Load Switches
Monolithic Power Systems (MPS) MPQ5871 Smart High-Side Load Switches provide a highly efficient and compact solution with a small on-resistance (RDS(ON)). These switches feature a 3.5V to 36V input voltage (VIN) range and a 1A nominal load. The MPQ5871 load switches support an internal current limit and a configurable high-accuracy external current limit. These switches incorporate full diagnostic capabilities in both on and off states. The MPQ5871 load switches are AEC-Q100 Grade 1 and AEC-Q100-012 test Grade A qualified.The MPQ5871 load switches are available in a QFN-8 (2mm x 2.5mm) package. Typical applications include smart switches for automotive infotainment systems, power switches for Advanced Driver Assistance Systems (ADAS), and high-side power switches for sub-modules.
Features
- Built to handle tough automotive transients:
- Up to 42V load dump
- Cold crank down to 3.5V
- Cooler thermals:
- Integrated 60mΩ MOSFET
- Extends vehicle battery life:
- 0.5µA extremely low standby current
- Flexibility:
- Configurable external current limit
- Adjustable start-up slew rate
- Compatible with 3.3V and 5V logic
- Reduces board size:
- Available in a QFN-8 (2mm x 2.5 mm) package
- Full diagnostics and protections:
- Supports functional safety application
- ±4% at 1A and ±6% at 300mA high-accuracy current sense
- On-state and off-state open-load and battery short detection
- Thermal shutdown
- Available in a wettable flank package
- Available in AEC-Q100 Grade 1
- Available in AEC-Q100-012 test Grade A
Applications
- Smart switches for automotive infotainment systems
- Power switches for Advanced Driver Assistance Systems (ADAS)
- High-side power switches for sub-modules
- General resistive, inductive, and capacitive loads
Typical Application Circuit Diagram
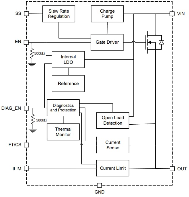
Block Diagram
Videos
Đã phát hành: 2024-10-17
| Đã cập nhật: 2024-10-23
