Nexperia NCA9555PW 16-Bit I2C & SMBus I/O Expanders
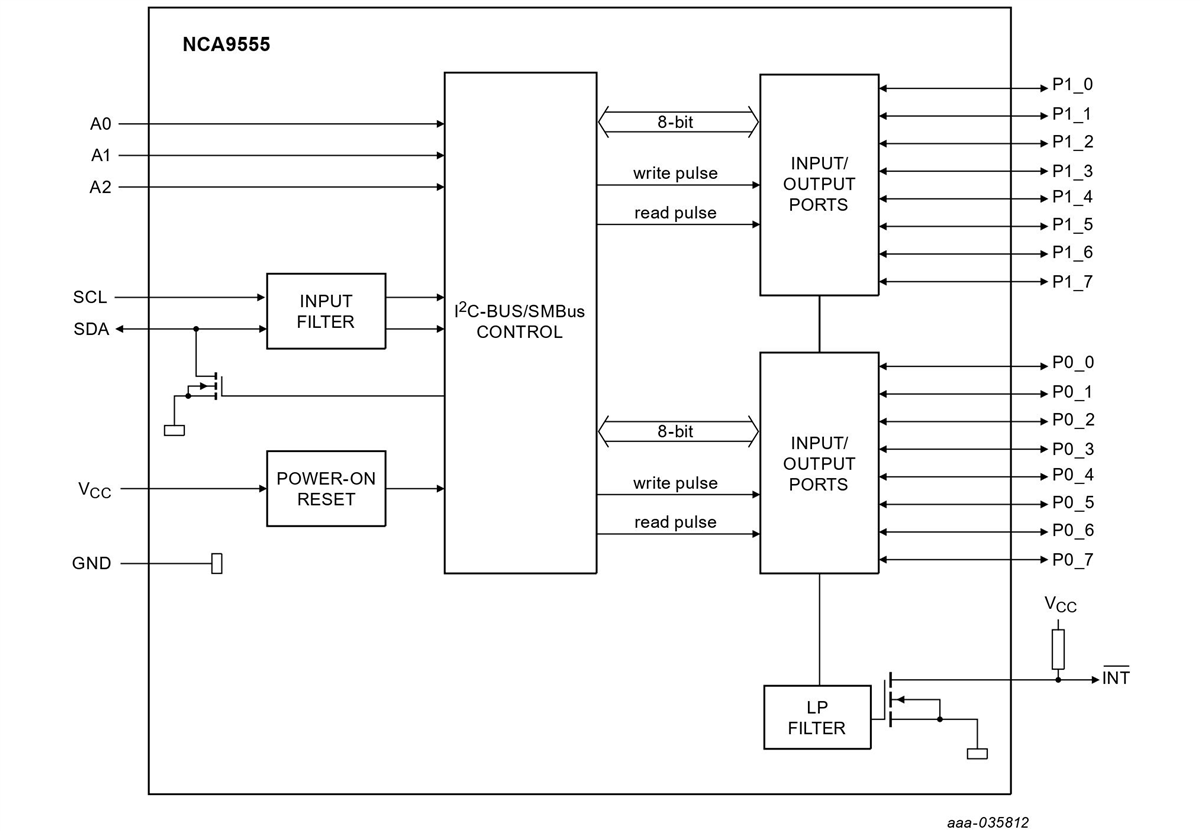
Nexperia NCA9555PW 16-Bit I2C and SMBus I/O Expanders are an efficient solution to expand the General Purpose Input/Output (GPIO) capabilities of I2C-bus/SMBus applications. The Nexperia NCA9555PW devices have a 1.65V to 5.5V wide operating voltage range. The NCA9555 is designed to meet the needs of various devices, including interrupt and pull-up resistors. These devices include ACPI power switches, sensors, push buttons, LEDs, and fan control systems. The NCA9555 features 8-bit input, output, configuration, and polarity inversion registers, with all IOs defaulting to inputs upon power-up. The device's flexible configuration options allow each IO to be set as an input or output, making it an ideal choice for adding additional IOs with minimal interconnections.Features
- I2C-bus to parallel port expander
- Operating power supply voltage range of 1.65V to 5.5V
- Low standby current consumption
- 2.5µA (maximum)
- Schmitt-trigger action allows slow input transition and better switching noise immunity at the SCL and SDA inputs
- Vhys = 0.10 × VCC (typical)
- Noise filter on SCL and SDA inputs
- 5V tolerant I/Os
- 16 I/O pins which default to 16 inputs
- Open-drain active LOW interrupt output (INT)
- 400kHz Fast-mode I2C-bus
- Internal power-on reset
- Power-up with all channels configured as inputs with weak pull-up resistors
- No glitch on the power-up
- Latched outputs with 25mA drive maximum capability for directly driving LEDs
- Latch-up performance exceeds 100mA per JESD78, Class II
- ESD protection
- HBM ANSI/ESDA/JEDEC JS-001 Class 2 exceeds 2000V
- CDM ANSI/ESDA/JEDEC JS-002 Class C3 exceeds 1000V
- Specified from -40°C to +85°C
Applications
- ACPI power switches
- Sensors
- Push buttons
- LEDs
- Fan control systems
Block Diagram
Đã phát hành: 2023-02-07
| Đã cập nhật: 2025-08-20
