NXP Semiconductors MC33HB2002 ICs & Drivers
NXP Semiconductors MC33HB2002 ICs and Drivers are a SMARTMOS monolithic H-Bridge ICs enhanced with SPI configuration and diagnostic capabilities. These power ICs are able to control inductive loads with peak currents greater than 10A and the nominal continuous average load current is 3A. The MC33HB2002 ICs are designed to address the ISO26262 safety requirements, meets the stringent requirements of automotive applications, and AEC-Q100 qualified. These power ICs are highly accurate in real-time current feedback through a current mirror output signal with less than 5% error. The MC33HB2002 ICs operate at 5V to 28V voltage range. These power ICs are ideal for use in electronic throttle control, Exhaust Gas Recirculation control (EGR), electric pumps, turbo, and waste flap control.Features
- Advanced diagnostic reporting via a serial peripheral interface:
- Charge pump under-voltage, overvoltage, and under-voltage on VPWR
- Short to the ground and short to VPWR for each output
- Open load, temperature warning, and overtemperature shutdown
- Three package sizes available in SOIC, PQFN, and HVQFN
- Drives inductive loads in a full H-bridge or Half-bridge configuration
- Overvoltage protection places the load in high-side recirculation mode with notification in H-bridge mode
- AEC-Q100 grade 1 qualified
Specifications
- 5V to 28V operating voltage range
- 2V/μs default slew rate
- 7A threshold current limit
- >5% error
Applications
- Electronic throttle control
- Exhaust Gas Recirculation (EGR) control
- Turbo, swirl and whirl, and waste flap control
- Electric pumps, motor control, and auxiliaries
Block Diagram
Application Diagram
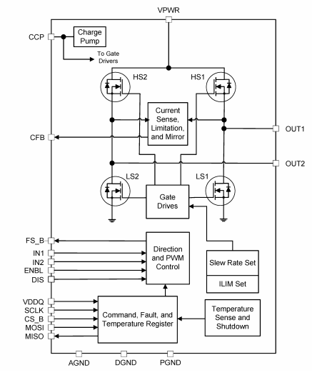
Functional Block Diagram
Operating Mode State Diagram
The MC33HB2002 operates in the following modes:
• Sleep mode:
MC33HB2002 functions are disabled. The current consumption does not exceed the sleep-state current specification.
• Standby mode
MC33HB2002 logic is fully operational with the outputs in a high-impedance state.
• Normal mode:
MC33HB2002 functions are fully operational. Any detected faults transition the device to Fault mode.
• Fault mode:
Certain functions are forced off and the FS_B signal is latched to logic [0] indicating a fault
Đã phát hành: 2020-06-09
| Đã cập nhật: 2022-03-11
