NXP Semiconductors PCA9956B 24-Channel LED Driver
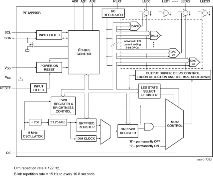
NXP PCA9956B 24-channel LED Driver is an I2C-bus controlled constant current driver designed for dimming and blinking 57mA Red/Green/Blue/Amber (RGBA) LEDs. Each LED output has an 8-bit resolution (256 steps) fixed frequency individual PWM controller that operates at 31.25kHz with a duty cycle that is adjustable from 0% to 100% to allow the LED to be set to a specific brightness value. An additional 8-bit resolution (256 steps) group PWM controller has both a fixed frequency of 122Hz and an adjustable frequency between 15Hz to once every 16.8 seconds with a duty cycle that is adjustable from 0% to 99.6% that is used to either dim or blink all LEDs with the same value.Features
- 24 LED drivers, each output programmable at:
- Off
- On
- Programmable LED brightness
- Programmable group dimming/blinking mixed with individual LED brightness
- Programmable LED output delay to reduce EMI and surge currents
- Gradation control for all channels
- Each channel can assign to one of four gradation control groups
- Programmable gradation time and rate for ramp-up and/or ramp-down operations
- Programmable step time (6-bit) from 0.5ms to 512ms
- Programmable hold-on time after ramp-up and hold-off time after ramp-down (3-bit) from 0s to 6s
- Programmable final ramp-up and hold-on current
- Programmable brightness current output adjustment, either linear or exponential curve
- 24 constant current output channels can sink up to 57mA, tolerate up to 20V when OFF
- Output current adjusted through an external resistor (REXT input)
- Open/short load/overtemperature detection mode to detect individual LED errors
- 1MHz Fast-mode Plus compatible I²C-bus interface with 30mA high drive capability on SDA output for driving high capacitive buses
Applications
- Amusement products
- RGB or RGBA LED drivers
- LED status information
- LED displays
- LCD backlights
- Keypad backlights for cellular phones or handheld devices
- Fade-in and fade-out for breath light control
Specifications
- 256-step (8-bit) linear programmable brightness per LED output varying from fully off (default) to maximum brightness fully ON using a 31.25kHz PWM signal
- 256-step group brightness control allows general dimming (using a 122Hz PWM signal) from fully off to maximum brightness (default)
- 256-step group blinking with frequency programmable from 15Hz to 16.8Hz and duty cycle from 0% to 99.6%
- Low standby current
- Output current accuracy
- 4% between output channels
- 6% between PCA9956B devices
- 3V to 5.5V operating power supply voltage range
- 5.5V tolerant inputs on non-LED pins
- -40°C to +85°C operating temperature range
- ESD protection exceeds 4000V HBM per JESD22-A114
- Latch-up testing is done to JEDEC Standard JESD78 which exceeds 100mA
- HTSSOP2 package
Block Diagram
Đã phát hành: 2016-01-15
| Đã cập nhật: 2022-03-11
