onsemi NCP110 Linear Voltage Regulators
onsemi NCP110 Linear Voltage Regulators are capable of supplying 200mA output current from a 1.1V input voltage. These voltage regulators provide a wide output range from 0.6V up to 4V with very low noise and high Power Supply Rejection Ratio (PSRR). The NCP110 regulators are designed to work with 1µF input and a 1µF output ceramic capacitor. These linear voltage regulators are suitable for battery-powered devices such as smartphones and tablets due to low quiescent current. Typical applications include battery-powered equipment, smartphone, digital cameras, smoke detectors, portable medical equipment, clock power supplies, and battery-powered wireless IoT modules.Features
- 1.1V to 5.5V operating input voltage range
- 0.6V to 4V fixed voltage option
- ±2% accuracy over load/temperature
- Stable with a 1µF small case size ceramic capacitors
- Available in:
- WLCSP4 0.65mm x 0.65mm x 0.33mm case 567VS
- XDFN4 1mm x 1mm x 0.4mm case 711AJ
- Pb-free, halogen-free/BFR-free, and RoHS compliant
Specifications
- Ultra-low quiescent current 20A (typical)
- Standby current 0.1A (typical)
- Very low dropout of 70mV for 1.05V @ 100mA
- 95dB high PSRR @ 20mA, 1kHz frequency (typical)
- Ultra-low noise 8.8µVRMS
Applications
- Battery-powered equipment
- Smartphone and tablets
- Digital cameras
- Smoke detectors
- Portable medical equipment
- RF, PLL, VCO, and clock power supplies
- Battery-powered wireless IoT modules
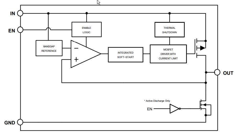
NCP110 Regulators Block Diagram
NCP110 Typical Application Diagram
Đã phát hành: 2018-07-10
| Đã cập nhật: 2022-10-31
