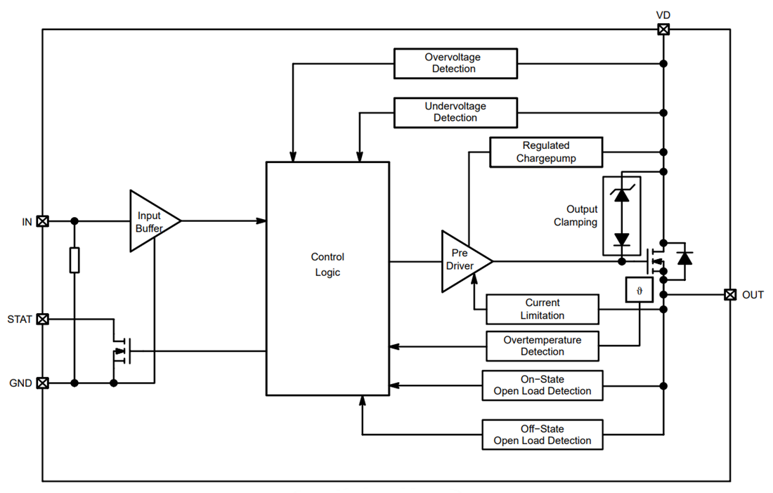
onsemi NCV8445 Self Protected High Side Driver
onsemi NCV8445 Self Protected High Side Driver is a fully protected high-side driver that can switch various loads, such as bulbs, solenoids, and other actuators. The onsemi NCV8445 is internally protected from an overload condition by an active current limit and thermal shutdown. A diagnostic output reports the ON and OFF state open load conditions and thermal shutdown.Features
- Short circuit protection
- Thermal shutdown with automatic restart
- CMOS (3.3V/5V) compatible control input
- Open load detection in on and off-state
- Diagnostic output
- Undervoltage and overvoltage shutdown
- Loss of ground protection
- ESD protection
- Slew rate control for low EMI switching
- Very low standby current
- NCV prefix for automotive and other applications requiring unique site and control change requirements; AEC−Q100 qualified and PPAP capable
- These devices are Pb−Free and RoHS-compliant
Applications
- Switch a variety of resistive, inductive, and capacitive loads
- Can replace electromechanical relays and discrete circuits
- Automotive or industrial
Block Diagram
Đã phát hành: 2024-11-25
| Đã cập nhật: 2024-12-03
