onsemi NXH400N100L4Q2F2 IGBT Modules
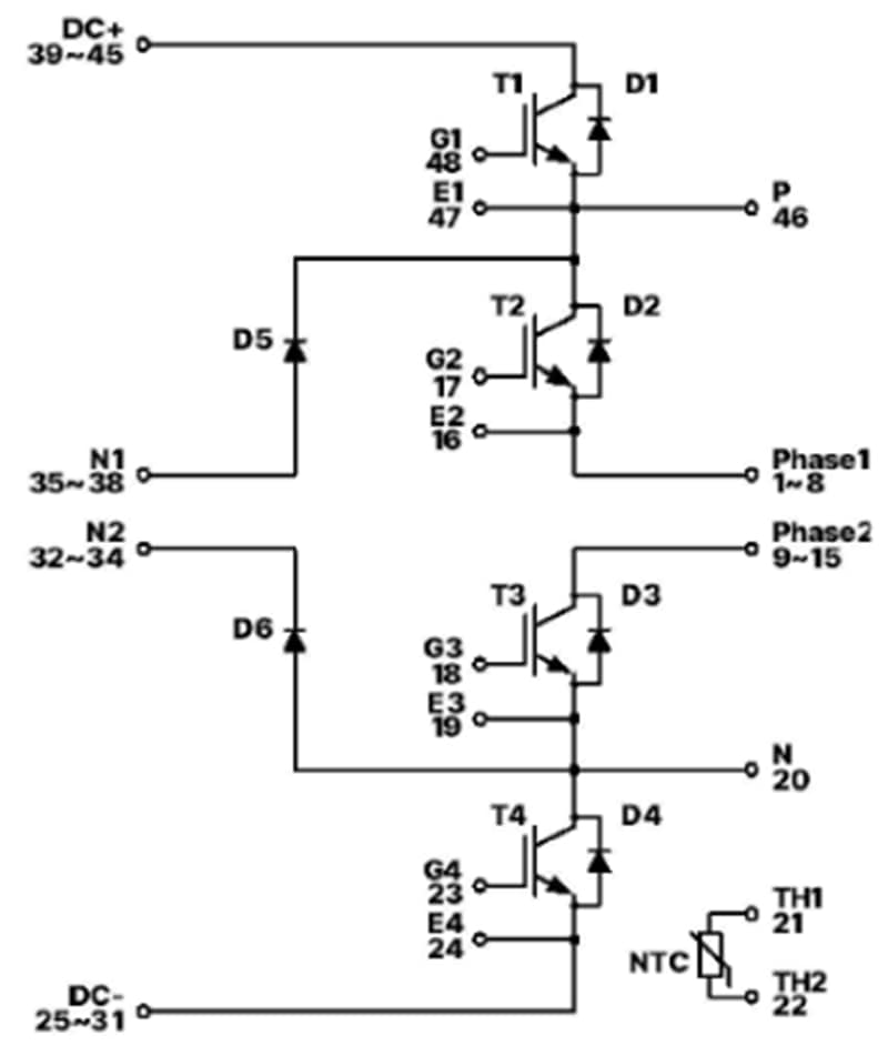
onsemi NXH400N100L4Q2F2 IGBT Modules contain an I-type neutral point clamped three-level inverter. The onsemi NXH400N100L4Q2F2 Modules leverage integrated field stop trench IGBTs and FRDs to minimize conduction and switching losses, ensuring exceptional efficiency and reliability. The modules feature a neutral point-clamped three-level inverter design and employ an extremely efficient trench with field stop technology for optimized performance. The devices' low inductive layout and package height further enhance efficiency and reliability while integrating a thermistor for temperature monitoring.Features
- Neutral point clamped three-level inverter module
- Extreme efficiency trench with field stop technology
- Low inductive layout
- Low package height
- Thermistor
Applications
- Solar inverters
- Energy storage systems
- Uninterruptable power supply systems
Schematic Diagram
Đã phát hành: 2024-05-13
| Đã cập nhật: 2024-06-24
