Renesas Electronics IoT Communications Gateway Hub
Renesas Electronics IoT Communications Gateway Hub is a communication gateway solution for a doctor monitoring system that can automatically sync up patient health status with a doctor. The patient monitoring devices communicate with this gateway through long-range BLUETOOTH® Low Energy or contactless near field communication (NFC). The gateway would translate that data to the doctor or an on-premise/cloud analytics system.Features
- Gateway bridges between non-IP local communication (NFC, BLUETOOTH Low Energy) and IP networks/cloud (Wi-Fi, LTE)
- MPU class performance, but software development in an RTOS enables very fast boot time and easy porting of MCU code base
- Universal 15W AC/DC adapter optimized for 5V application loads
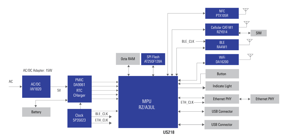
SYSTEM BLOCK DIAGRAM
ADDITIONAL APPLICATION SOLUTIONS
See how Renesas' complementary product portfolios of Analog + Power + Embedded Processing work together to deliver comprehensive solutions.
Đã phát hành: 2023-06-27
| Đã cập nhật: 2023-07-11
