Renesas Electronics GreenPAK™ SLG4752x Mixed-Signal Matrix
Renesas Electronics GreenPAK™ SLG4752x Mixed-Signal Matrix is designed for efficient mixed-signal functions in various applications. These Renesas Electronics components offer wide-ranging level-shifter capabilities, accommodating voltages from 0.95V to 1.98V and 1.71V to 5.5V. The devices feature communication interfaces on VDD1 and VDD2 domains, with selectable VDD domain sources for I2C pins. The devices' compact size and fully configurable analog and digital blocks streamline mixed-signal projects, reducing both size and cost. Additionally, these devices support flexible user-defined power-saving modes across all macrocells, ensuring optimal energy efficiency. Configuration is straightforward using the intuitive Go Configure Software Hub.Features
- Wide range level-shifter capabilities
- 1st GreenPAK product interfacing 0.95V to 1.98V and 1.71V to 5.5V rails
- Communication interfaces available on VDD1 and VDD2 domains
- Selectable VDD domain source for I2C pins
- Small package and rich set of fully configurable analog and digital blocks for reduced size and cost of mixed-signal projects
- Flexible user-defined power-saving modes for all macrocells
Applications
- Personal computers and servers
- PC peripherals
- Consumer electronics
- Data communications equipment
- Handheld and portable electronics
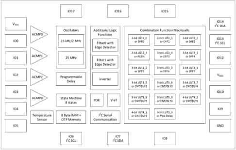
Block Diagram
Đã phát hành: 2024-08-19
| Đã cập nhật: 2024-10-21
