STMicroelectronics L99MC6GJ Medium Current Output Driver
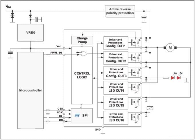
STMicroelectronics L99MC6GJ Medium Current Output Driver is a highly flexible monolithic driver. STMicroelectronics L99MC6GJ driver incorporates three dedicated low-side outputs (channels 4 to 6) and three independently self-configuring outputs (channels 1 to 3). This driver can be used as either low-side or high-side drivers in any combination. The L99MC6GJ can control inductive loads, incandescent bulbs or LEDs.Features
- 3 independently self configuring high-/low-side channels
- 3 low-side channels
- 0.7Ω RON (typ) at Tj= +25°C
- Current limit of each output at min. 0.6A
- PWM direct mode
- Bulb mode with recovery mode
- LED mode with slew rate control
- Bridge mode with crosscurrent protection
- SPI interface for data communication
- Temperature warning
- All outputs overtemperature protected
- All outputs short-circuit protected
- Configurable open-load detection in off mode
- 3.0V to 5.25V supply voltage
- 5μA (typ) current consumption in standby mode
- Internal clamp diodes
- HS switches operate down to 3V crank voltage
Applications
- Relay drivers
- LED drivers
- Motor drivers
- Mirror adjustment
Application Diagram
Đã phát hành: 2015-04-23
| Đã cập nhật: 2022-03-11
