STMicroelectronics STM32WB09 BLUETOOTH® Low Energy 5.4 32-Bit MCUs
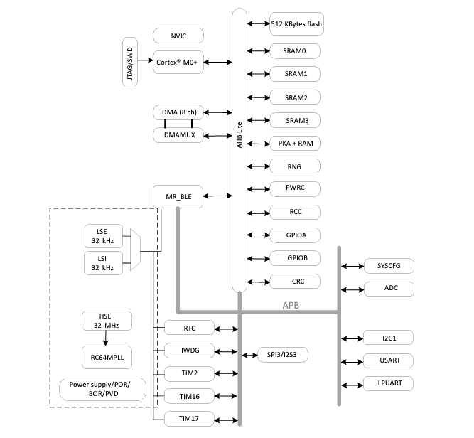
STMicroelectronics STM32WB09 BLUETOOTH® Low Energy 5.4 32-Bit MCUs embed state-of-the-art 2.4GHz RF radio peripherals optimized for ultra-low power consumption and excellent radio performance for unparalleled battery lifetime. The STM32WB09 is compliant with Bluetooth Low Energy SIG core specification version 5.4, managing point-to-point connectivity and Bluetooth Mesh networking, and enables the reliable establishment of large-scale device networks. The STM32WB09 is also ideal for 2.4GHz proprietary radio wireless communication to address ultra-low latency applications.The STM32WB09 integrates an Arm® Cortex®-M0+ microprocessor that operates up to 64MHz and a radio core coprocessor (DMA-based) for BLE timing critical operations. Additionally, the STM32WB09 supplies enhanced security hardware support through dedicated hardware functions: a true random number generator (TRNG) supporting NIST special publication 800-90B, a security co-processor for 128-bit AES encryption, a CRC calculation unit, a 64-bit unique ID, flash memory read and write protection, and a public key accelerator (PKA).
The STM32WB09 can be configured to support standalone or network processor applications. In the first configuration, the STM32WB09 operates as a single device running the application code and the BLE stack. The STM32WB09 embeds the following high-speed memory types: 512Kbyte flash memory, 64Kbyte RAM, 1Kbyte one-time-programmable (OTP) memory area, and 7Kbyte ROM (ST reserved area). Direct data transfer between memory and peripherals and from memory to memory is supported by eight DMA channels with a complete flexible channel mapping by the DMAMUX peripheral.
The STM32WB09 embeds a 12-bit ADC, allowing measurements of up to eight external and three internal sources, including battery monitoring and a temperature sensor. The STM32WB09 has a low-power RTC and one advanced 16-bit timer. The STM32WB09 features standard and advanced communication interfaces: 1x SPI-I2, LPUART, 1x USART supporting ISO 7816 (SmartCard mode), IrDA and Modbus mode, 2x I2C supporting SMBus/PMBus.
The STM32WB09 operates in the -40°C to +105°C (+125°C junction) temperature range from a 1.7V to 3.6V power supply. A comprehensive set of power-saving modes facilitates the configuration of low-power applications. The STM32WB09 integrates a high-efficiency SMPS step-down converter and an integrated PDR circuitry with a fixed threshold that generates a device reset when the VDD drops under 1.65V. The STM32WB09 is available in VFQFPN32 and WLCSP36 packages that support up to 20 I/Os.
Features
- Includes ST state-of-the-art patented technology
- Bluetooth Low Energy system-on-chip supporting Bluetooth 5.4 specifications
- 2Mbit/s data rate
- Long range (Coded PHY)
- Advertising extensions
- Channel selection algorithm #2
- GATT caching
- Direction finding - angle of arrival (AoA)/ angle of departure (AoD)
- Simultaneous connections
- Concurrent link-layer roles
- Low Energy data packet length extension
- Low Energy ping procedure
- Periodic advertising and periodic advertising sync transfer
- Periodic advertising with a response
- Advertising coding selection
- Encrypted advertising
- Low Energy L2CAP connection-oriented channel
- Low Energy power control and path loss monitoring
- Low Energy channel classification
- Enhanced ATT (EATT)
- Connection subrating
- Broadcast isochronous streams (BIS)
- Connection isochronous streams (CIS)
- Radio
- RX sensitivity level of -97dBm at 1Mbit/s, -104dBm at 125Kbit/s (long range)
- Programmable output power up to +8dBm (at antenna connector) 128 physical connections
- Data rate supported of 2Mbit/s, 1Mbit/s, 500Kbit/s and 125Kbit/s
- Integrated balun
- Support for external PA and LNA
- BlueNRG core coprocessor (DMA based) for Bluetooth Low Energy time critical operations
- 2.4GHz proprietary radio driver
- Suitable for systems requiring compliance with the following radio frequency regulations: ETSI EN 300 328, EN 300 440, FCC CFR47 part 15, ARIB STD-T66
- Available integrated passive device (IPD) companion chip for optimized matching and filtering
- Ultra-low power radio performance
- 12nA in Shutdown mode (1.8V)
- 0.9µA in Deepstop mode (with external LSE, radio wakeup source, and RAM retained, 1.8V)
- 1.2µA in Deepstop mode (with internal LSI, radio wakeup source, and RAM retained, 1.8V)
- 4.9mA peak current in TX (at 0dBm, 3.3V)
- 3.6mA peak current in RX (at sensitivity level, 3.3V)
- High performance and ultra-low power 32-bit Arm Cortex-M0+, running up to 64MHz
- Operating supply voltage from 1.7V to 3.6V
- Enhanced security mechanisms such as
- Flash read/write protection
- SWD disabling
- Secure bootloader
- Dynamic current consumption from 14.47µA/MHz
- -40°C to 105°C temperature range
- Supply and reset management
- High-efficiency embedded SMPS step-down converter with intelligent bypass mode
- Ultra-low power power-on-reset (POR) and power-down-reset (PDR)
- Programmable voltage detector (PVD)
- Clock sources
- 64MHz PLL
- Fail-safe 32MHz crystal oscillator with integrated trimming capacitors
- 32kHz crystal oscillator
- Internal low-power 32kHz RO
- On-chip non-volatile flash memory of 512Kbytes with page protection against R/W
- On-chip RAM of 64Kbytes and 4Kbytes PKA RAM
- One-time-programmable (OTP) memory area of 1Kbytes
- Embedded UART bootloader
- Ultra-low power modes with or without timer and RAM retention
- Quadrature decoder
- Security features
- True random number generator (TRNG) compliant with NIST special publication 800B-90B
- Hardware encryption AES maximum 128-bit security co-processor
- Hardware public key accelerator (PKA)
- Cryptographic algorithms: RSA, Diffie-Helman, ECC over GF(p)
- CRC calculation unit
- 64-bit unique ID
- System peripherals
- 1x DMA controller with 8 channels supporting ADC, SPI, 12C, USART, LPUART, Timers
- 1x SPI with I2S interface multiplexed
- 1x I2C (SMBus/PMBus)
- 1x LPUART (low power)
- 1x USART (ISO 7816 smartcard mode, IrDA, SPI master and Modbus)
- 1x independent WDG
- 1x real-time clock (RTC)
- 1x independent SysTick
- 1x 16-bit, four channels general-purpose timer
- 2x 16-bit two channels general-purpose timer
- Infrared interface
- Up to 20 fast V/Os
- All of them with wake-up capability
- All of them retain the state in low-power mode
- All of them 5V tolerant
- Analog peripherals
- 12-bit ADC with 8 input channels, up to 16-bits with a down sampler
- Battery monitoring
- Analog watchdog
- Development support
- Serial wire debug (SWD)
- 4 breakpoints and two watchpoints
- All packages are ECOPACK2 compliant
Applications
- Industrial
- Home and industrial automation
- Asset tracking, ID location, and real-time locating system
- Smart lighting
- Assisted living
- Fitness, wellness, and sports
- Healthcare and consumer medical
- Security/proximity
- Remote control
- Mobile phone peripherals
- PC peripherals
Circuit Diagram
Block Diagram
