Texas Instruments ADS125H02 ±20V Delta-Sigma ADCs
Texas Instruments ADS125H02 ±20V Delta-Sigma ADC features a low-noise programmable gain amplifier (PGA), an internal reference, a clock oscillator, and signal or reference out-of-range monitors. The ADS125H02 reduces board area by up to 50% compared to discrete solutions, integrating a wide input range of ±18V PGA and an ADC into a single package. The device includes a voltage reference and features to enhance data reliability, such as cyclic redundancy check (CRC) and signal monitors.The need for an external attenuator or gain stages is eliminated with a programmable gain of 0.125 to 128 (corresponding to an equivalent input range from ±20V to ±20mV). The ADS125H02 ADCs offer low noise and drift performance, allowing direct connections to the bridge resistance temperature detector (RTD) and thermocouple sensors.
Measurement error is reduced when the digital filter attenuates 50Hz and 60Hz line cycle noise for data rates ≤50SPS or 60SPS. The filter provides no-latency conversion data for high data throughput during channel sequencing. The Texas Instruments ADS125H01 and ADS125H02 are pin-compatible and are fully specified over the –40°C to +125°C temperature range.
Features
- ±20V input, 24-bit delta-sigma ADC
- 2.5SPS to 40kSPS programmable data rate
- High-voltage, high-impedance PGA
- A differential input range of up to ±20V
- Programmable gain of 0.125 to 128
- Common-mode input voltage of up to ±15.5V
- 1GΩ (minimum) input impedance
- High-performance ADC
- 45nVRMS (20SPS) input noise
- 105dB CMRR
- Normal-mode rejection at 50Hz, 60Hz of 95dB
- 5nV/°C offset drift
- 1ppm/°C gain drift
- INL of 2ppm
- Integrated features and diagnostics
- 2.5V reference with 3ppm/°C drift
- 2.5% error (maximum) clock oscillator
- Excitation current sources (ADS125H02)
- GPIO to drive external mux (ADS125H02)
- Signal and reference voltage monitors
- Cyclic redundancy check (CRC)
- Power supplies
- AVDD: 4.75V to 5.25V
- DVDD: 2.7V to 5.25V
- HVDD: ±5V to ±18V
- –40°C to +125°C operating temperature
- 5mm × 5mm VQFN package
Applications
- PLC analog input modules
- Voltage (such as ±10V or 0V to 5V)
- Current (such as 4mA to 20mA with shunt)
- Temperature (such as RTDs, thermocouples)
- Test and measurement
- High common-mode voltage inputs
- Battery testing
- High-side current measurement
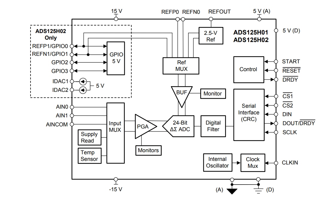
Block Diagram
Đã phát hành: 2019-05-15
| Đã cập nhật: 2023-09-11
