Texas Instruments ADS8578S High-Speed 8-Channel ADC
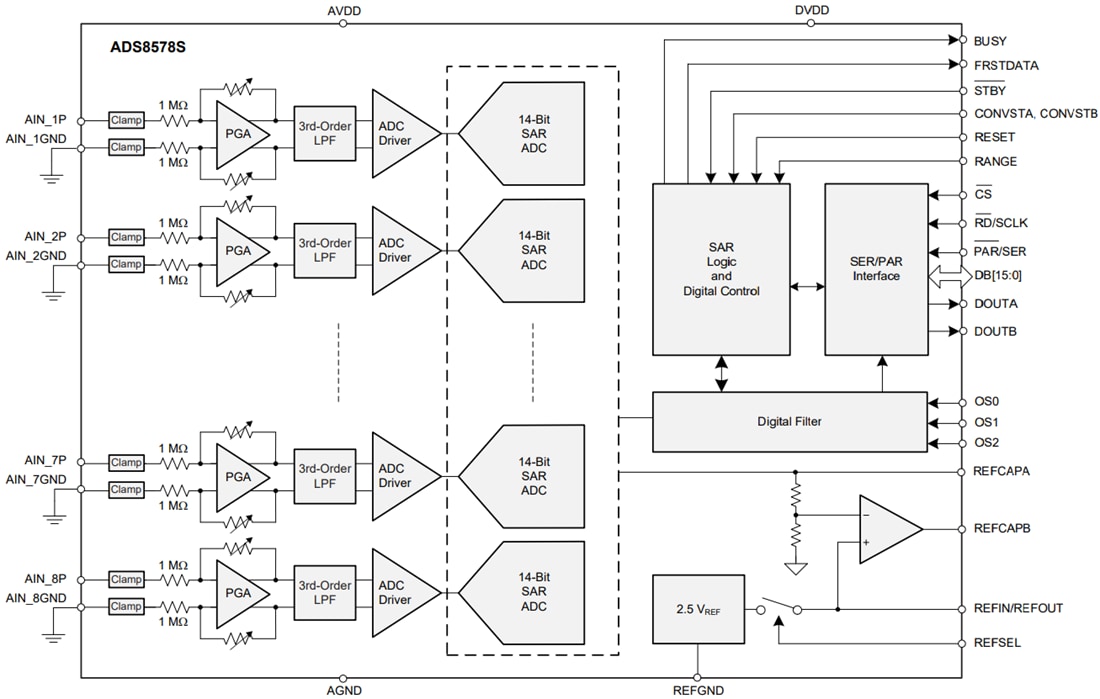
Texas Instruments ADS8578S High-Speed 8-Channel ADC has an integrated data acquisition (DAQ) system based on a 14-bit successive approximation (SAR) analog-to-digital converter (ADC). All input channels are simultaneously sampled to achieve a maximum throughput of 200kSPS per channel. The device features a complete analog front-end for each channel. Each front-end includes a programmable gain amplifier (PGA) with a high input impedance of 1MΩ, an input clamp, a low-pass filter, and an ADC input driver. The ADS8578S also features a low-drift, precision reference with a buffer to drive the ADC. A flexible digital interface supporting serial, parallel, and parallel byte communication enables the device to be used with a variety of host controllers. The high performance and accuracy, along with zero-latency conversions offered by the ADS8578S also make it a great choice for many industrial automation and control applications.Features
- 14-Bit ADC with integrated analog front-end
- Simultaneous sampling of 8 channels
- Pin-programmable bipolar inputs of ±10V and ±5V
- High input impedance of 1MΩ
- 5V Analog supply of 2.3V to 5V digital supply
- Overvoltage input clamp with 7kV ESD
- Low-drift, on-chip reference (2.5V), and buffer
- Excellent performance
- 200kSPS Max throughput per channels
- DNL: ±0.2LSB; INL: ±0.2LSB
- SNR: 85.8dB; THD: −109dB
- Overtemperature prformance
- Max offset drift of 3ppm/°C
- Gain drift of 6ppm/°C
- On-chip digital filter for oversampling
- Flexible parallel, byte, and serial interface
- Temperature Range of –40°C to +125°C
- 64-Pin LQFP Package
Applications
- Monitoring and control for power grids
- Protection relays
- Multiphase motor controls
- Industrial automation and controls
- Multichannel data acquisition systems
Videos
Functional Block Diagram
Đã phát hành: 2017-09-08
| Đã cập nhật: 2022-06-01
