Texas Instruments AM335x Arm® Cortex™-A8 MPUs
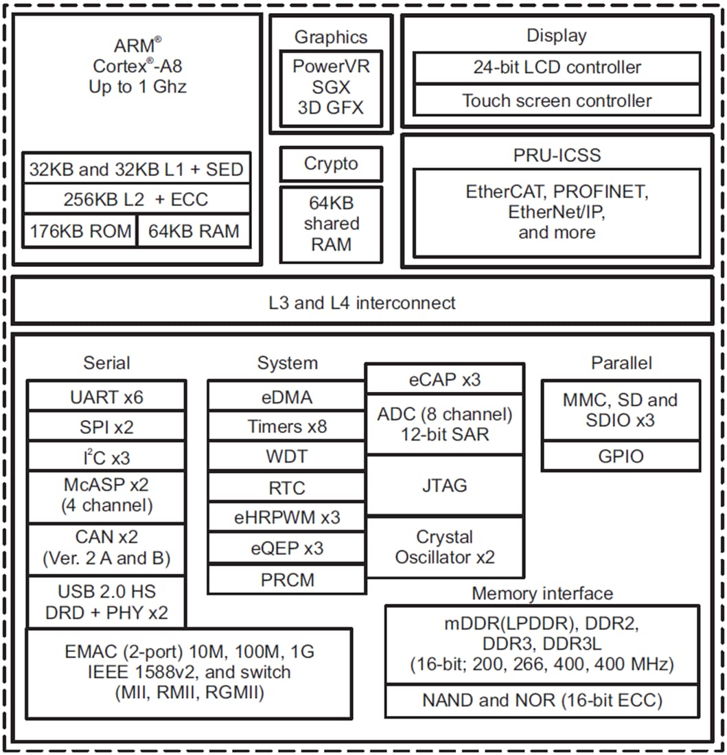
Texas Instruments AM335x Arm® Cortex™-A8 Microprocessors are highly integrated MPUs based on the Cortex-A8 processor that deliver high DMIPs at a low cost while also delivering optional 3D graphics acceleration and key peripherals. These TI Cortex-A8 MPUs include industrial interface options, such as EtherCAT and PROFIBUS, and can support the Linux® and Android™ high-level operating systems. The combination of graphics and connectivity support makes TI AM335x MPUs ideal for portable navigation systems, handheld gaming devices, education, and home/building automation solutions.Features
- Feature-rich Arm Cortex-A8-based solution with performance up to 720MHz
- Fully integrated solution including key peripherals
- CAN
- 2-port Gigabit Ethernet switch
- USB+PHY
- Acceleration
- LPDDR1/DDR2/DDR3
- Programmable Real-time Unit (PRU) adapts to new application-specific standards with user configurable I/Os
- Flexible power management options to minimize active power while enabling standby power as low as 7mW
- System-on-a-chip with display subsystem including touch screen controller, 3D graphics accelerator, and display controller
- StarterWare™ software suite eases design with a microcontroller-like development environment, without requiring an operating system (OS)
- Optional support for both EtherCAT® and PROFIBUS® industrial interfaces
- Wireless connectivity support pre-integrated, including Wi-Fi™, Bluetooth® and other technologies
- Broad software support for Linux, Android™ and Windows® Embedded Compact 7, in addition to a variety of third-party RTOS offerings
Applications
- Gaming Peripherals
- Home and Industrial Automation
- Consumer Medical Appliances
- Printers
- Smart Toll Systems
- Connected Vending Machines
- Weighing Scales
- Educational Consoles
- Advanced Toys
Additional Resources
Functional Block Diagram
Đã phát hành: 2012-08-08
| Đã cập nhật: 2025-06-25
