Texas Instruments bq25910 6A Single-Cell Parallel Battery Chargers
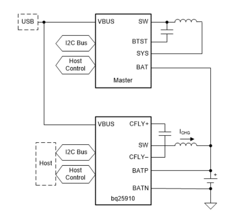
Texas Instruments bq25910 I2C Controlled 6A Three-Level Switch Mode Single-Cell Parallel Battery Chargers manage the charging of single-cell Li-Ion and Li-polymer batteries. The bq25910 delivers a flexible solution with the I2C serial interface encompassing charging and system settings. The three-level converter maintains the highest switch-mode operation efficiency while continuously reducing the solution footprint and raising the power density. The Texas Instruments bq25910 is available for many portable devices via supporting fast charging with high input voltage. An additional feature offers integrated switching FETs (QHSA, QHSB, QLSB, QLSA) and a reverse-blocking FET (QBLK). The device provides multiple safety features, including Thermal Regulation and Shutdown, Input UVLO, Overvoltage Protection, Battery OVP, Charging Safety Timer, and more.Features
- Parallel charger operation provides fast charging in a dual charger configuration
- High-efficiency 750kHz switch mode three-level buck parallel charger
- Reduced ripple to support low-profile inductor
- 95.4% charge efficiency at 1.5 A from 5V input
- 93.3% charge efficiency at 3 A from 9V input
- Superior efficiency compared to traditional buck converters in compact form factor
- Single input to support USB input and adjustable high-voltage adapters
- Support 3.9V to 14V input voltage range with 20V absolute maximum input voltage rating
- Input current limit (500mA to 3.6A with 100mA resolution) to support USB 2.0 and USB 3.0 standard and high voltage adapters
- Maximum power tracking by Input Voltage Limit (VINDPM) up to 14V
- Flexible I2C Mode for optimal system performance
- High integration includes all MOSFETs, current sensing, and loop compensation
- Lossless charge current sensing without a sense resistor
- <10µA low battery leakage current during standby mode
- High accuracy
- ±0.4% charge voltage regulation
- ±10% charge current regulation
- ±7.5% input current regulation
- Remote differential battery sensing
- Safety
- Thermal regulation and thermal shutdown
- Input UVLO and overvoltage protection
- Battery OVP
- Input Dynamic Power Management (DPM)
- Charging safety timer
- Flying capacitor short circuit protection
- Output voltage short circuit protection
- Available in 36-ball WCSP package
Applications
- Smartphone
- Tablet
- Wireless charging
- Portable electronics
- Electronic Point of Sales (ePOS)
Simplified Schematic
Đã phát hành: 2018-04-11
| Đã cập nhật: 2022-11-18
