Texas Instruments DAC82002EVM Evaluation Module
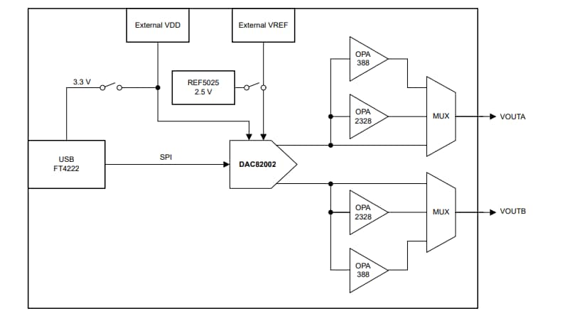
Texas Instruments DAC82002EVM Evaluation Module is a platform for evaluating the performance of the DAC82002. The DAC82002 is a 16-bit, high-accuracy, low-power, dual-channel digital-to-analog converter (DAC). The TI DAC82002 features a power-on-reset circuit to power up at either a zero scale (0x0000) or midscale (0x8000), depending on the reset-select (RSTSEL) pin.Features
- Onboard digital controller for serial peripheral interface (SPI) communication
- Configurable output buffer operational-amplifier circuits allow for plug-and-play configurability
- Low-drift 2.5V reference
Additional Resources
PCB Layout
Hardware Simplified Schematic
Đã phát hành: 2022-12-09
| Đã cập nhật: 2025-03-10
