Texas Instruments LP87322E/F-Q1 Power Management IC (PMIC)
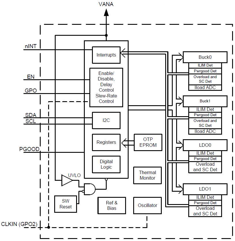
Texas Instruments LP87322E/F-Q1 Power Management IC (PMIC) is designed to meet the power management requirements of the current processors and platforms in automotive camera and radar applications. This PMIC contains two step-down DC-DC converters, linear regulators, and general-purpose digital-output signals. The device is controlled by an I2C-compatible serial interface and by an enable signal.The automatic PWM/PFM (AUTO mode) operation gives high efficiency over a wide output current range. The Texas Instruments LP87322E/F-Q1 supports remote voltage sensing to compensate for IR drop between the regulator output and the point-of-load (POL), thus improving the accuracy of the output voltage. In addition, the switching clock can be forced to PWM mode and synchronized to an external clock to minimize the disturbances.
Features
- AEC-Q100 qualified with the following results
- Device Temperature Grade 1 (–40°C to +125°C ambient operating temperature)
- 2.8V to 5.5V input voltage
- Two high-efficiency step-down DC-DC converters
- 0.7V to 3.36V output voltage
- Maximum output current 2A
- Programmable output-voltage slew rate from 0.5mV/µs to 10mV/µs
- 2MHz switching frequency
- Spread-spectrum mode and phase interleaving for EMI reduction
- Two linear regulators
- 2.5V to 5.5V input voltage
- 0.8V to 3.3V output voltage
- A maximum output current of 300mA
- Configurable general-purpose output signals (GPO, GPO2)
- Interrupt function with programmable masking
- Programmable Power-Good signal (PGOOD)
- Output short-circuit and overload protection
- Overtemperature warning and protection
- Overvoltage Protection (OVP) and Undervoltage Lockout (UVLO)
- 28-pin, 5mm×5mm VQFN package with wettable flanks
Applications
- Automotive head unit and cluster
- Automotive camera module
- Surround-view system ECU
- Radar system ECU
- Automotive display
Functional Block Diagram
Đã phát hành: 2018-04-16
| Đã cập nhật: 2022-12-01
