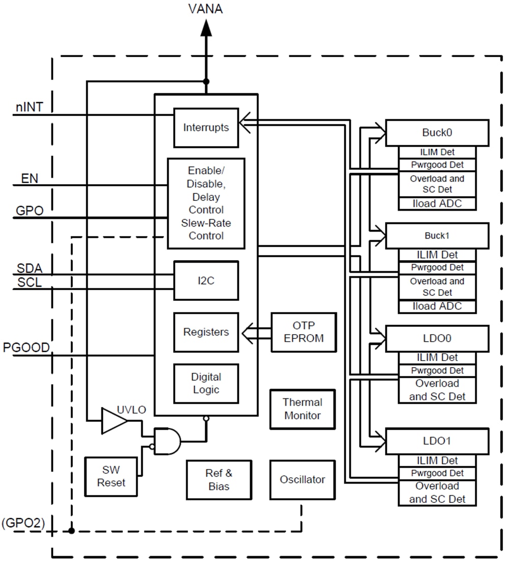
Texas Instruments LP8732xx-Q1 Power Management ICs

Texas Instruments LP8732xx-Q1 Power Management ICs (PMICs) are designed to meet the power management requirements in automotive applications. Each device has two step-down DC/DC converters, which can be configured as a single dual-phase regulator or as two single-phase regulators, two linear regulators, and general-purpose digital-output signals. Each device is controlled by an I2C-compatible serial interface and by an enable signal.

The automatic PWM/PFM (AUTO mode) operation together with the automatic phase adding/shedding maximizes gives high efficiency over a wide output current range. The LP8732xx-Q1 supports remote voltage sensing (differential in dual-phase configuration) to compensate IR drop between the regulator output and the point-of-load (POL). This improves the accuracy of the output voltage. The switching clock can also be forced to PWM mode and synchronized to an external clock to minimize the disturbances.

The LP8732xx-Q1 supports programmable start-up and shutdown delays and sequences, including GPO signals synchronized to the enable signal. During start-up and voltage change, the device controls the output slew rate to minimize output voltage overshoot and the in-rush current. The LP8732xx-Q1 devices are AEC-Q100 qualified for automotive applications.

Features

  • 2.8V to 5.5V input voltage
  • Two high-efficiency step-down DC/DC converters
    • 0.7V to 3.36V output voltage:
    • Maximum output current 2A per phase
    • Auto phase adding/shedding and force multi-phase operations in dual-phase configuration
    • Remote differential feedback voltage sensing in dual-phase configuration
    • Programmable output-voltage slew rate from 0.5mV/µs to 10mV/µs
    • 2MHz switching frequency
    • Spread-spectrum mode and phase interleaving for EMI reduction
  • Two linear regulators
    • 2.5V to 5.5V input voltage
    • 0.8V to 3.3V output voltage
    • Maximum output current 300mA
  • Configurable general-purpose output signals (GPO, GPO2)
  • Interrupt function with programmable masking
  • Programmable power-good signal (PGOOD)
  • Output short-circuit and overload protection
  • Overtemperature warning and protection
  • Overvoltage protection (OVP) and undervoltage lockout (UVLO)
  • 28-pin, 5mm × 5mm VQFN package with wettable flanks

Applications

  • Automotive head unit and cluster
  • Automotive camera module
  • Surround-view system ECU
  • Radar system ECU

Functional Block Diagram

Block Diagram - Texas Instruments LP8732xx-Q1 Power Management ICs
Đã phát hành: 2018-10-31 | Đã cập nhật: 2023-07-18