Texas Instruments LP8758-E3 Synchronous Step-Down DC-DC Converters
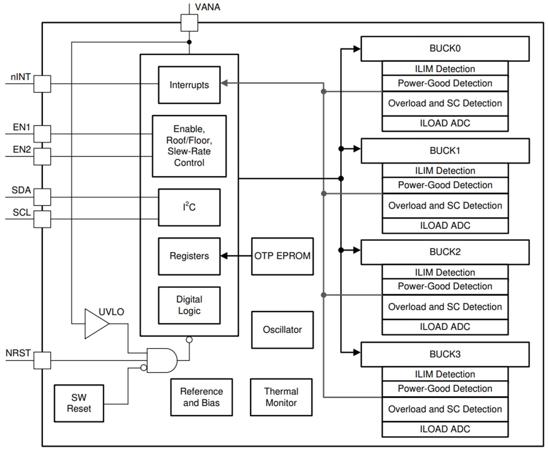
Texas Instruments LP8758-E3 Synchronous Step-Down DC-DC Converters are designed to meet power management requirements for low-power processors in mobile phones, network cards, and similar applications. The device contains four step-down DC-DC converter cores, providing four output voltage rails. The device is controlled by an I2C-compatible serial interface. The automatic PWM-PFM (AUTO mode) operation maximizes efficiency over a wide output current range. The Texas Instruments LP8758-E3 supports programmable start-up and shutdown sequencing synchronized to hardware enable input signal.The protection features include short-circuit protection, current limits, input supply UVLO, and temperature warning and shutdown functions. Several error flags are provided for the device's status information. Also, the LP8758-E3 device supports load current measurement without the addition of external current sense resistors. During start-up and voltage change, the device controls the output slew rate to minimize output voltage overshoot and inrush current.
Features
- Fully integrated quad buck, up to 4A programmable maximum output current per buck
- Auto PWM-PFM and Forced-PWM operations
- Programmable output voltage slew rate from 30mV/µs to 0.5mV/µs
- 2.5V to 5.5V input voltage range
- 0.5V to 3.36V with DVS VOUT range
- Programmable start-up and shutdown sequencing with enable signal
- I2C-compatible interface that supports standard (100kHz), fast (400kHz), fast+ (1MHz), and high-speed (3.4MHz) modes
- Interrupt function with programmable masking
- Load current measurement
- Output short-circuit and overload protection
- Spread-spectrum mode for EMI reduction
- The four buck cores operate 90° out of phase, thereby reducing the input ripple current
- Overtemperature warning and protection
- Undervoltage Lockout (UVLO)
Applications
- Optical modules
- Drone systems
- Smartphones, eBooks, and tablets
- Solid-state drives
Functional Block Diagram
Đã phát hành: 2020-05-29
| Đã cập nhật: 2024-06-20
