Texas Instruments OPAx196 Low-Power Operational Amplifiers
Texas Instruments OPAx196 Low-Power All-Purpose Operational Amplifiers offer 36V, rail-to-rail e-trim™ operational amplifiers (op-amps). These devices offer very low offset voltage (±25µV, typical), drift (±0.5µV/°C, typical), and low bias current (±5pA, typical). These features are combined with very low quiescent current (140µA/channel, typical) across the entire output range. Unique features include differential input-voltage range to the supply rail, high output current (±65mA), and high capacitive load drive of up to 1nF. This makes the OPAx196 a robust, high-performance operational amplifier for high-voltage industrial applications.Features
- ±100µV (maximum) Low offset voltage
- ±0.5µV/°C (typical) Low offset voltage drift
- ±5pA (typical) Low bias current
- 140dB High common-mode rejection
- 15nV/√Hz at 1kHz Low noise
- Rail-to-Rail input and output
- Differential input voltage range to supply rail
- 2.5MHz GBW Wide bandwidth
- 140µA per amplifier (typical) Low quiescent current
- ±2.25V to ±18V, 4.5V to 36V Wide supply
- EMI/RFI Filtered inputs
- 1nF High capacitive load drive capability
- Industry-standard packages
- Single in SOIC-8, SOT-5, and VSSOP-8
- Dual in SOIC-8 and VSSOP-8
- Quad in SOIC-14, TSSOP-14, and QFN-16
Applications
- Multiplexed data-acquisition systems
- Test and measurement equipment
- High-resolution ADC driver amplifiers
- SAR ADC Reference buffers
- Analog input and output modules
- High-side and low-side current sensing
- High-precision comparator
- Medical instrumentation
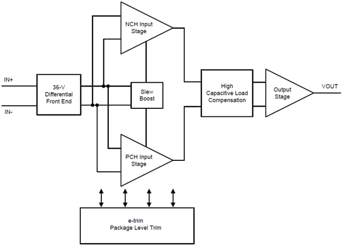
Functional Block Diagram
Đã phát hành: 2017-10-06
| Đã cập nhật: 2022-06-27
