Texas Instruments TAS5441-Q1 Mono Class-D Audio Amplifier
Texas Instruments TAS5441-Q1 Mono Class-D Audio Amplifier is ideal for automotive emergency calls (eCall), telematics, instrument cluster, and infotainment applications. The device provides up to 22W into 4Ω at less than 10% THD+N from a 14.4VDC automotive battery. The Texas Instruments TAS5441-Q1 has a wide operating voltage range and excellent efficiency, which makes it ideal for start-stop support or running from a backup battery when required. The integrated load-dump protection reduces external voltage clamp cost and size, and the onboard load diagnostics report the speaker's status through I2C.Features
- AEC-Q100 qualified for automotive applications
- –40°C to 125°C, TA temperature grade 1
- Mono BTL digital power amplifier
- 22W output power at 10% THD+N into 4Ω
- 4.5V to 18V operating range
- 85% efficiency into 4Ω
- Differential analog input
- Speaker Guard™ speaker protection with adjustable power limiter
- 75dB power-supply rejection ratio (PSRR)
- Load diagnostic functions
- Open and shorted output load
- Output-to-power and output-to-ground shorts
- Protection and monitoring functions
- Short-circuit protection
- 40V Load dump protection per ISO-7637-2
- Output DC Level detection while music is playing
- Overtemperature protection
- Overvoltage and undervoltage protection
- Thermally enhanced 16-Pin HTSSOP (PWP) package with PowerPAD™ package (pad down)
- Designed for automotive EMC requirements
- ISO9000: 2002 TS16949 certified
- 40V Load dump protection in standby
- Non-blocking I2C in standby
Applications
- Automotive emergency call (eCall) amplifier
- Telematics systems
- Instrument cluster systems
- Infotainment audio
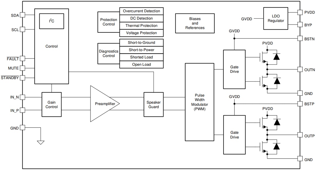
Functional Block Diagram
Đã phát hành: 2020-08-11
| Đã cập nhật: 2025-03-05
