Texas Instruments TAS5825P Audio Amplifier
Texas Instruments TAS5825P Audio Amplifier is a stereo high-efficiency closed-loop audio Class-D audio amplifier with an advanced Hybrid-Pro algorithm. This algorithm improves system efficiency and reduces heat without clipping distortion. This audio amplifier supports up to 4ms of delay buffer to look ahead at the audio signal and prevent audio clipping distortion. The TAS5825P amplifier increased the runtime of 1S and 2S batteries by greater than 50% while continuously playing music. This audio amplifier supports multiple output configurations and provides excellent integrated self-protection. The Texas Instruments TAS5825P amplifier operates at -25°C to 85°C temperature range. This audio amplifier is ideal for battery-powered speakers, set-top boxes, soundbars or subwoofers, BLUETOOTH® speakers, and efficiency-sensitive audio systems.Features
- High-efficiency Class-D operation with Hybrid-Pro
- Approximately 50% longer battery life compared to fixed supply voltage solutions
- Supports multiple output configurations
- 1 × 53W, 1.0 Mode (4Ω, 22V, THD+N=1%)
- 1 × 65W, 1.0 Mode (4Ω, 22V, THD+N=10%)
- 2 × 30W, 2.0 Mode (8Ω, 24V, THD+N=1%)
- 2 × 38W, 2.0 Mode (8Ω, 24V, THD+N=10%)
- Excellent audio performance
- THD+N ≤ 0.03% at 1W, 1kHz, PVDD = 12V
- SNR ≥ 110dB (A-weighted), ICN ≤ 35µVRMS
- Flexible audio I/O
- Supports 32, 44.1, 48, 88.2, 96kHz SR
- Supports I2S, LJ, RJ, and TDM format
- Supports 3-wire digital audio interface
- Flexible processing features
- PVDD sensing to avoid clipping distortion while voltage rail drops
- Up to 4ms lookahead delay buffer for HybridPro algorithm audio signal tracking
- Optional 8 or 16 Hybrid-Pro DC-DC control steps with max 10ms peak sample hold
- Excellent integrated self-protection
- Over Current Error (OCE)
- Cycle-by-cycle current limit
- Over Temperature Warning (OTW)
- Over Temperature Error (OTE)
- Under Voltage Lock Out (UVLO)
- Over Voltage Lock Out (OVLO)
- Easy System Integration
- I2C Software Control
- Reduced solution size
- Small 5mm×5mm package
- Fewer passives are required compared to open-loop Class-D devices
- No bulky electrolytic capacitors or large inductors are required for most applications
Specifications
- -25°C to 85°C operating temperature range
- -40°C to 125°C storage temperature range
- -0.3VPVDD to 30VPVDD supply voltage rang
Applications
- Battery-powered speaker
- Set-Top Box (STB)
- Soundbar or Subwoofer
- Wireless or Bluetooth speaker
- Heat or efficiency-sensitive audio system
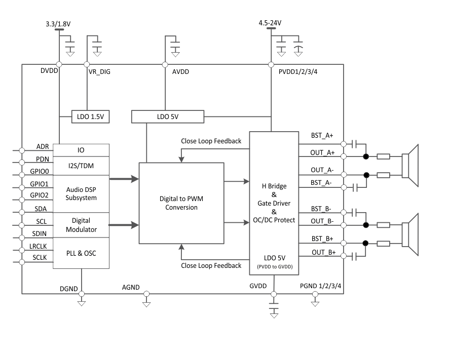
Functional Block Diagram
Đã phát hành: 2019-12-27
| Đã cập nhật: 2024-02-15
