Texas Instruments TLC5925 Low-Power 16-Ch LED Sink Drivers
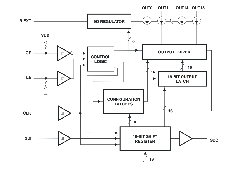
Texas Instruments TLC5925 low-power 16-channel constant-current LED sink drivers to contain a 16-bit shift register and data latches, leading to converted serial input data into a parallel output format. Sixteen regulated-current ports provide uniform and constant current for driving LEDs within a wide range of VF variations during the output stage. Texas Instruments TLC5925 flexibility and high performance are applied in system design for LED display applications. An adjustable output current from 3mA to 45mA through an external resistor offers flexibility in the light intensity of LEDs.Features
- 16 Constant-Current Output Channels
- Constant Output Current Invariant to Load Voltage Change
- Excellent Output Current Accuracy
- <±4% (Max) Between Channels
- <±6% (Max) Between ICs
- Constant Output Current Range: 3mA to 45mA
- Output Current Adjusted By External Resistor
- 100ns Fast Response of Output Current, OE (Min)
- 30MHz Clock Frequency
- Schmitt-Trigger Inputs
- 3.3V to 5V Supply Voltage
- Thermal Shutdown for Overtemperature Protection
- 1kV HBM ESD Performance
Applications
- Gaming Machine and Entertainment
- General LED Applications
- LED Display Systems
- Signs LED Lighting
- White Goods
Block Diagram
Đã phát hành: 2009-06-17
| Đã cập nhật: 2022-03-11
