Texas Instruments TMP1827 Digital Temperature Sensor
Texas Instruments TMP1827 Digital Temperature Sensor is a high-accuracy, 1-Wire compatible digital output temperature sensor with integrated 2Kb EEPROM. The device also includes an SHA-256-HMAC authentication scheme and a wide operating temperature range from –55°C to +150°C. The TMP1827 provides a high accuracy of ±0.1°C (typical)/±0.2°C (maximum) across the temperature range of +10°C to +45°C. Each device has a factory-programmed 64-bit unique identification number for addressing and NIST traceability. The Texas Instruments TMP1827 supports standard speeds for legacy applications and overdrive mode with a 90kbps data rate for low latency communication across a wide voltage range of 1.7V to 5.5V.In the simplest mode of operation, the TMP1827 1-Wire interface, with an integrated 8kV IEC-61000-4-2 ESD protection on the data pin, requires only a single connection and a ground return in bus-powered mode, which simplifies and reduces cost by reducing the number of wires and external protection components. The VDD power pin is also available for applications that may want a dedicated power supply.
Features
- 1-Wire interface with multi-drop shared bus and cyclic redundancy check (CRC)
- 1.7V to 5.5V bus powered with operating voltage
- IEC 61000-4-2 ESD for 8kV contact discharge
- Functional Safety-Capable
- Documentation available to aid functional safety system design
- High-accuracy digital temperature sensor
- TMP1827
- ±0.2°C (maximum) from +10°C to +45°C
- ±0.3°C (maximum) from –40°C to +105°C
- ±0.4°C (maximum) from –55°C to +150°C
- TMP1827N
- ±0.9°C (maximum) from –55°C to +150°C
- TMP1827
- 94µA temperature measurement current
- 1.3µA shutdown current
- 7.8125m°C (1LSB) 16-bit temperature resolution
- Fast data rates of 90kbps in overdrive speed
- Flexible user-programmable short address modes for faster device address
- SHA-256-HMAC authentication scheme
- FIPS 180-4 compliant Secure Hash Implementation
- FIPS 198-1 compliant HMAC Implementation
- 2Kb EEPROM features
- Write operation in 64-bit block size
- Continuous read mode
- Read with write protection with 256-bit page size
- Authenticated write protection mode with 256-bit page size
- 178 µA programming current
- NIST traceable factory-programmed non-erasable 64-bit identification number for device addressing
- Four configurable open-drain digital input-output and temperature alert
Applications
- Factory automation and control
- Appliances
- Medical accessories
- CPAP machines
- Battery charger ICs
- EV charging infrastructure
- LED lighting
- Temperature transmitters
- Cold chain
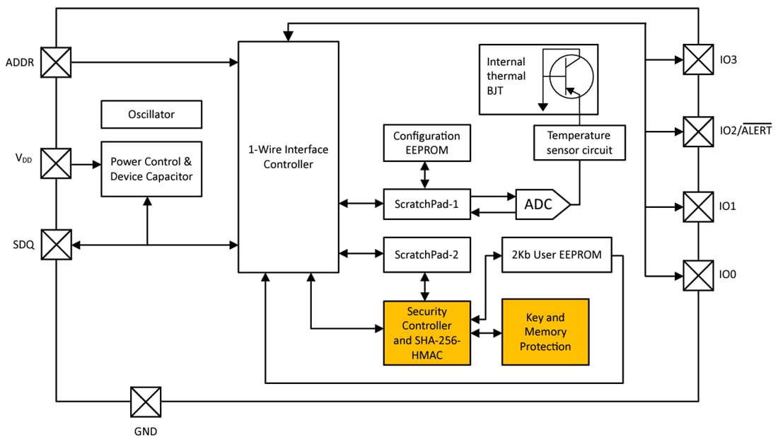
Functional Block Diagram
Additional Resources
Đã phát hành: 2023-06-21
| Đã cập nhật: 2023-10-30
