Texas Instruments TPS7A05 Ultra-Low IQ Low-Dropout Regulator
Texas Instruments TPS7A05 Ultra-Low IQ Low-Dropout Regulator is an ultra-small, low quiescent current low-dropout regulator (LDO) that can source 200mA with excellent transient performance. This device has an output range of 0.8V to 3.3V with a typical 1% accuracy. The Texas Instruments TPS7A05, with ultralow IQ (1µA), is designed specifically for battery-powered applications where a very-low quiescent current is a critical parameter for extending battery life. The device can be operated from rechargeable Li-Ion batteries and Li-primary battery chemistries such as Li-SOCl2, Li-MnO2, and two- or three-cell alkaline batteries. The TPS7A05 has an active pull-down circuit to discharge the output when disabled quickly.Features
- 1µA (typ.), 3µA (max.) ultra-low IQ
- IGND: 6µA (typ.) at 200mA
- Excellent transient response
- Packages
- 1.0mm×1.0mm X2SON (4)
- 0.65mm×0.65mm DSBGA (4)
- SOT-23 (5)
- 1.4V to 5.5V input voltage range
- 1% typical, 3% maximum output accuracy
- Available in fixed-output voltage
- 0.8V to 3.3V
- Very low dropout
- 235mV (max.) at 200mA (3.3VOUT)
- Active output discharge
- Foldback current limit
- Stable with a 0.47µF or larger capacitor
Applications
- Wearable electronics
- Ultrabooks, tablets, eReaders
- Always-on power supplies
- Set-top boxes
- Gaming controllers, remote controls, toys, and drones
- Wireless handsets and smartphones
- Portable and battery-powered equipment
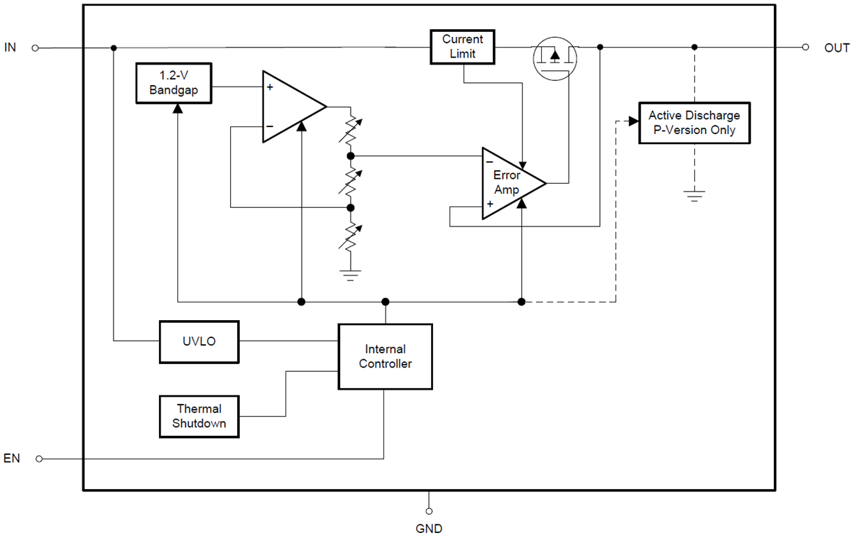
Functional Block Diagram
Đã phát hành: 2018-06-22
| Đã cập nhật: 2024-04-23
