Texas Instruments TUSB542 USB Type-C 5Gbps Redriver
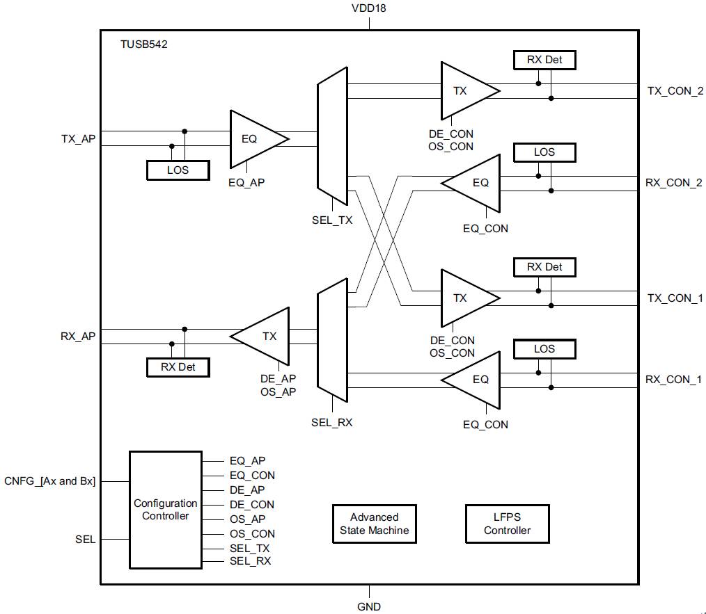
Texas Instruments TUSB542 USB Type-C™ 5Gbps Redriver is a dual-channel USB 3.1 Gen1 re-driver supporting system with USB Type-C connectors. The device offers signal conditioning plus the ability to switch the USB SS signals for the USB Type-C flippable connector. The TUSB542 can be controlled through the SEL pin by an external Configuration Channel Logic Controller to Mux the signals properly. The Texas Instruments TUSB542 incorporates receiver equalization and transmitter de-emphasis to maintain signal integrity on both transmit and receive data paths. The receiver equalization offers multiple gain settings to overcome channel degradation from insertion loss and inter-symbol interference. To compensate for downstream transmission line losses, the output driver supports de-emphasis configuration. Additionally, automatic LFPS de-emphasis control allows for full compliance.Features
- Provides USB 3.1 Gen-1 5Gbps Super Speed (SS) 2:1 Mux for a USB Type-C™ Port
- Supports USB Type-C cable and connector specifications
- Ultra low-power architecture
- Active 100mA
- U2/U3 1.3mA
- No connection 300µA
- Selectable equalization up to 9dB, de-emphasis, and output swing up to 6dB
- Integrated termination
- RX-detect function
- Signal monitoring for power management
- No host/device-side requirement – supports USB-C DFP, UFP, or DRP port
- Single supply voltage 1.8V ±10%
- Industrial temperature range of –40 – 85°C
Applications
- USB 3.1 Gen 1 SS application
- Phones
- Tablets, phablets, and notebooks
- Docking stations
Functional Block Diagram
Đã phát hành: 2016-06-01
| Đã cập nhật: 2022-03-11
