Texas Instruments UCC14141-Q1 5kVRMS Isolated DC-DC Module
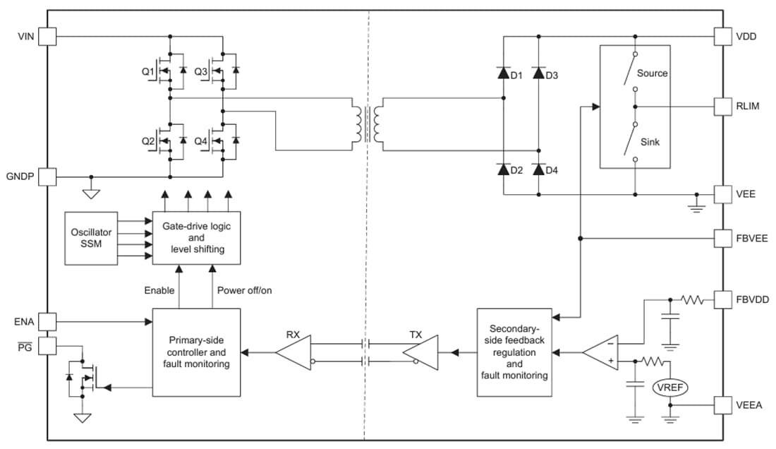
Texas Instruments UCC14141-Q1 5kVRMS Isolated DC-DC Module is an automotive-qualified high isolation voltage DC-DC power module designed to give IGBT or SiC gate drivers power. The UCC14141-Q1 integrates a transformer and DC-DC controller with a proprietary architecture to achieve high density with very low emissions. The high-accuracy output voltages provide better channel enhancement for higher system efficiency without over-stressing the power device gate. The input voltage of UCC14141-Q1 supports both the wide LiFePO4 battery voltage of electric vehicles (8V-18V) and regulated 12V rail (10.8V-13.2V), with different output power.The Texas Instruments UCC14141-Q1 is a fully integrated module with on-chip device protection that requires a minimum of external components and provides extra features. These features include input under-voltage lockout, over-voltage lockout, output voltage power-good comparators, over-temperature shutdown, soft-start time-out, adjustable isolated positive and negative output voltage, an enable pin, and an open-drain output power-good pin.
Features
- Fully integrated high-density isolated DC-DC module with isolation transformer
- Isolated DC-DC for driving: IGBTs, SiC FETs
- Input voltage range of 8V to 18V with 32V absolute maximum
- 1.5W output power for 10.8V < VIN < 13.2V, at TA ≤ 85°C
- 1W output power for 8V < VIN < 18V, at TA ≤ 85°C
- Adjustable (VDD – VEE) output voltage (with external resistors): 15V to 25V, ±1.3% regulation accuracy over the full temperature range
- Adjustable (COM – VEE) output voltage (with external resistors): 2.5V to (VDD – VEE), ±1.3% regulation accuracy over the full temperature range
- Enable, Power Good, UVLO, OVLO, soft-start, short-circuit, power-limit, under-voltage, overvoltage, and over-temperature protection
- Low electromagnetic emission with spread spectrum modulation and integrated transformer
- CMTI > 150kV/µs
- AEC-Q100 qualified for automotive applications
- Temperature grade 1: –40°C ≤ TJ ≤ 150°C
- Temperature grade 1:–40 °C ≤ TA ≤ 125°C
- Functional Safety-Capable
- Documentation available to aid functional safety system design
- Planned safety-related certifications
- 7071VPK reinforce isolation per DIN EN IEC 60747-17 (VDE 0884-17)
- 5000VRMS isolation for 1 minute per UL 1577
- Reinforce insulation per CQC GB4943.1
- 36-pin, wide SSOP package
Applications
- Hybrid, electric, and powertrain system (EV/HEV)
- Inverter and motor control
- Onboard (OBC) and wireless charger
- DC-DC converter
- Grid infrastructure
- EV charging station power module
- DC charging (pile) station
- String inverter
- Motor drive
- AC inverter and VF drive, robot servo drive
- Industrial transport
- Off-highway vehicle electric drive
Functional Block Diagram
Device Comparison Table
Đã phát hành: 2023-09-20
| Đã cập nhật: 2024-03-11
