Vishay Semiconductors PowerPAK SC-70 MOSFETs
Vishay Semiconductors PowerPAK® SC-70 MOSFET combines the tiny footprint of the SC-70 package with on-resistance comparable to the larger TSOP-6, resulting in very low power consumption in a package 50% smaller than the TSOP-6 and 27% thinner. The Vishay Semiconductor PowerPAK SC-70 MOSFET comes in a variety of configurations and voltage ratings for different applications, including single, single plus Schottky, and dual devices, in both n-channel and p-channel, in addition to n- and p-channel complementary pairs. The PowerPAK SC-70 MOSFET features voltage ranges between 8V and 30V with extremely low on-resistance values down to 0.011Ω at 4.5V.Features
- Thermally enhanced PowerPAK® SC-70 package
- Small footprint area
- Low on-resistance
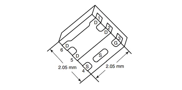
Package Dimensions
View Results ( 4 ) Page
| Mã Phụ tùng | Bảng dữ liệu | Id - Dòng cực máng liên tục | Rds Bật - Điện trở trên cực máng-cực nguồn | Số lượng kênh |
|---|---|---|---|---|
| SIA421DJ-T1-GE3 | ![]() |
12 A | 35 mOhms | 1 Channel |
| SIA413DJ-T1-GE3 | ![]() |
12 A | 150 mOhms | 1 Channel |
| SIA811ADJ-T1-GE3 | ![]() |
4.5 A | 116 mOhms | 1 Channel |
| SIA911ADJ-T1-GE3 | ![]() |
4.5 A | 205 mOhms | 2 Channel |
Đã phát hành: 2009-04-28
| Đã cập nhật: 2022-03-11

