NXP Semiconductors LPC11E37x & LPC11U37x 32-bit Microcontrollers
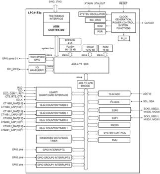
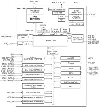
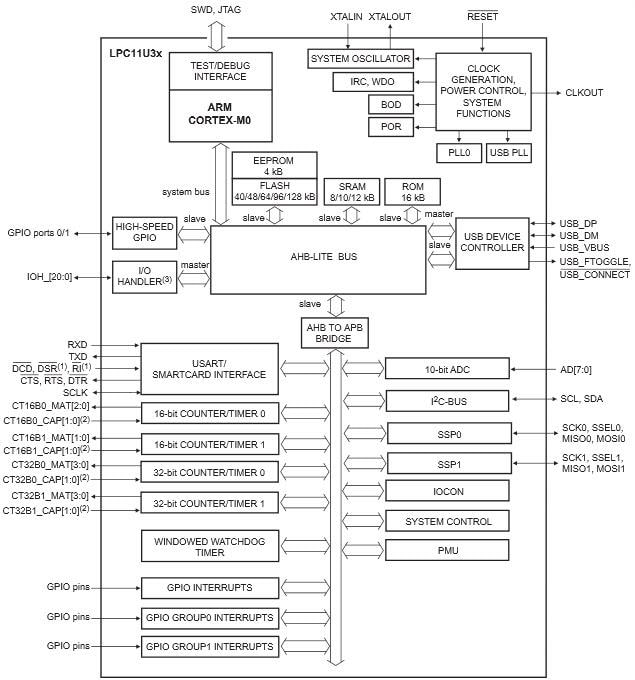
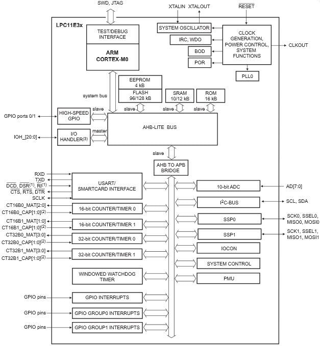
NXP Semiconductors LPC11E37x and LPC11U37x 32-bit Microcontrollers (MCUs) are Arm® Cortex®-M0 based, low-cost 32-bit MCUs, designed for 8/16-bit applications, offering performance, low power, simple instruction set and memory addressing together with reduced code size compared to existing 8/16-bit architectures. The I/O Handler (IOH) is a software library-supported hardware engine that can be used to add performance, connectivity and flexibility to system designs. The I/O Handler can emulate serial interfaces such as UART, I2C, and I2S with no or very low additional CPU load and can off-load the CPU by performing processing-intensive functions like DMA transfers in hardware. Software libraries for multiple I/O Handler applications are available on www.lpcware.com/ioh.Both parts operate at CPU frequencies of up to 50MHz. The LPC11U3x is equipped with a highly flexible and configurable full-speed USB 2.0 device controller which brings unparalleled design flexibility and seamless integration to today's demanding connectivity solutions. The peripheral complement includes up to 128kB of flash memory, up to 12kB of SRAM data memory and 4kB EEPROM, one Fast-mode Plus I2C-bus interface, one RS-485/EIA-485 USART with support for synchronous mode and smart card interface, two SSP interfaces, four general purpose counter/timers, a 10-bit ADC, and up to 54 general purpose I/O pins.
Features
- System
- ARM Cortex-M0 processor, running at frequencies of up to 50MHz
- ARM Cortex-M0 built-in Nested Vectored Interrupt Controller (NVIC)
- Non Maskable Interrupt (NMI) input selectable from several input sources
- System tick timer
- Memory
- Up to 128kB on-chip flash program memory with sector (4kB) and page erase (256 byte) access 4kB on-chip EEPROM data memory; byte erasable and byte programmable; on-chip API support
- 12kB SRAM data memory
- 16kB boot ROM
- In-System Programming (ISP) and In-Application Programming (IAP) via on-chip bootloader software
- ROM-based 32-bit integer division routines
- Up to 128kB on-chip flash program memory with sector (4kB) and page erase (256 byte) access 4kB on-chip EEPROM data memory; byte erasable and byte programmable; on-chip API support
- Debug options
- Standard JTAG (Joint Test Action Group) test interface for BSDL (Boundary Scan Description Language)
- Serial Wire Debug
- Digital peripherals
- Up to 54 General Purpose I/O (GPIO) pins with configurable pull-up/pull-down resistors, repeater mode, and open-drain mode
- Up to 8 GPIO pins can be selected as edge and level sensitive interrupt sources
- Two GPIO grouped interrupt modules enable an interrupt based on a programmable pattern of input states of a group of GPIO pins
- High-current source output driver (20 mA) on one pin
- High-current sink driver (20 mA) on true open-drain pins
- Four general purpose counter/timers with a total of up to 8 capture inputs and 13 match outputs
- Programmable Windowed WatchDog Timer (WWDT) with a dedicated, internal low-power WatchDog Oscillator (WDO)
- Analog peripherals
- 10-bit ADC with input multiplexing among eight pins
- Serial interfaces
- USART with fractional baud rate generation, internal FIFO, a full modem control handshake interface, and support for RS-485/9-bit mode and synchronous mode that supports an asynchronous smart card interface (ISO 7816-3)
- Two SSP controllers with FIFO and multi-protocol capabilities
- I2C-bus interface supporting the full I2C-bus specification and Fast-mode Plus with a data rate of up to 1Mbit/s with multiple address recognition and monitor mode
- Clock generation
- Crystal Oscillator with an operating range of 1MHz to 25MHz (system oscillator)
- 12MHz high-frequency Internal RC oscillator (IRC) that can optionally be used as a system clock
- Internal low-power, low-frequency WatchDog Oscillator (WDO) with programmable frequency output
- Clock output function with divider that can reflect the crystal oscillator, the main clock, the IRC, or the watchdog oscillator
- Power control
- Integrated PMU (Power Management Unit) to minimize power consumption during Sleep, Deep-sleep, Power-down, and Deep power-down modes
- Power profiles residing in boot ROM provide optimized performance and minimized power consumption for any given application through one simple function call
- Four reduced power modes: Sleep, Deep-sleep, Power-down, and Deep power-down
- Processor wake-up from Deep-sleep and Power-down modes via reset, selectable GPIO pins, or the watchdog interrupt
- Processor wake-up from Deep power-down mode using one special function pin
- Power-On Reset (POR)
- Brownout detect with up to four separate thresholds for interrupt and forced reset
- Unique device serial number for identification
- Single 3.3V power supply (1.8V to 3.6V)
- Temperature range -40C to +85
Applications
- Consumer peripherals
- Handheld scanners
- Medical
- Industrial control
- USB audio devices
Đã phát hành: 2013-11-19
| Đã cập nhật: 2022-03-11
